铝模板作为一种新型模板体系,具有强度高、稳定性好,可多次循环使用,节能环保,混凝土成型质量好等优点。但在主体施工阶段,铝模板加固措施包括横、纵背楞,使用普通靠尺无法与墙面铝模板直接接触,不能有效、准确检测铝模板墙柱的垂直度。从而无法实时控制和调整墙柱垂直度;且根据施工阶段的实际情况,原始靠尺不能直接与墙柱接触,加固所用背楞在固定和拆除过程中存在破损变形,将导致量测误差过大。本文提供一种铝模板墙柱施工垂直度检测尺,以解决靠尺无法与墙体直接接触,导致测量不精准的问题。
1 垂直度检测尺
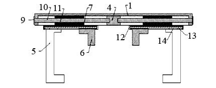
铝模板墙柱施工垂直度检测尺包括靠尺1和直弯组2,靠尺1的侧面设有两个滑槽,两个滑槽被安装体4隔开,两个滑槽内均安装有滑动机构3,滑动机构3与滑槽相配合的滑块11滑动连接;直弯组2包括长直弯5、短直弯6和连接板7,连接板7与滑块11固定连接,长直弯5通过移动机构8与连接板7滑动连接,短直弯6固定连接在连接板7靠内侧一端,与长直弯5相对设置,长直弯5位于外侧(图1)。

图1 检测尺整体示意
1—靠尺;2—直弯组;3—滑动机构;4—安装体;5—长直弯;6—短直弯;8—移动机构
移动机构8包括转动盘12、丝杆13和滑动块14。连接板7上设有滑动槽,滑动槽内转动安装有丝杆13,丝杆13一端穿出连接板7与转动盘12固定连接,丝杆13上螺纹连接有与长直弯5固定连接的滑动块14,滑动块14与滑动槽滑动连接。
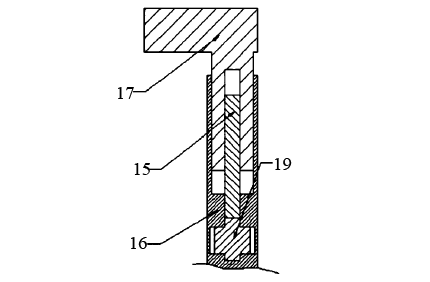
长直弯5包括固定弯16和移动弯17,移动弯17包括靠墙部和连接部,固定弯16为L形,固定弯16一端与滑动块14固定连接,另一端设有与连接部插接配合的转槽,使用该装置时,靠墙部抵靠在墙体上(图2)。

图2 检测尺结构示意
9—转盘;10—螺杆;11—滑块;12—转动盘;13—丝杆;14—滑动块
固定弯16上设有转孔,转轮19转动安装在转孔内,转轮19的两侧伸出转孔,转轮19的安装轴一端伸转槽内与螺纹杆15的端部固定连接,螺纹杆15与连接部螺纹连接,螺纹杆15与转槽转动连接(图3)。

图3 新型的滑动移动机构示意
15—螺纹杆;16—固定弯;17—移动弯;19—转轮
2 工作过程及原理
根据铝模板横、纵背楞的尺寸和安装距离,通过滑动机构,调整直弯组的直接距离,以便更精确地测量墙体垂直度,转动轮盘,使螺杆旋转,从而使直弯组移动,移动至合适位置时,停止转动;再根据背楞尺寸,移动机构调整长直弯与短直弯间的距离,使背楞可被长直弯和短直弯夹住,转动转动盘,使丝杆旋转,从而使长直弯与短直弯移动,移动至合适位置时,停止转动;还可通过滑动移动机构调整长直弯长度,使靠墙部可抵靠在墙体上,通过转动转盘,使移动弯移动,从而使靠墙部抵靠在墙体上;抵靠后,通过水平角度标尺可精准测量铝模板墙柱的垂直度。
3 小结
本装置通过直弯组,使靠尺可直接测量墙体垂直度,测量结果更加准确;调节本装置的直弯组,使装置适用于不同尺寸的铝模板墙柱的测量,使用方便,操作便捷,降低成本。