行业动态
一种新型剪力墙结构加固件
来源:admin 浏览量: 发布时间:2022-10-27 16:02:36
1 背景研究
剪力墙结构通长采用绑扎剪力墙钢筋、支设墙体模板、浇筑墙体混凝土,待混凝土强度达到要求后拆模,但传统施工中存在以下问题。现有模板主要通过钢管进行夹持,由于部分墙体较长,钢管重量较重,拆装、搬运不便;固定钢管需专用的加固卡件,固定时需两人或多人同时进行操作,且操作繁琐,效率较低。
2 具体实施方式
为解决现有剪力墙结构加固件的技术问题,提供了一种结构简单、拆装方便、可大幅提高安装效率的剪力墙加固件。
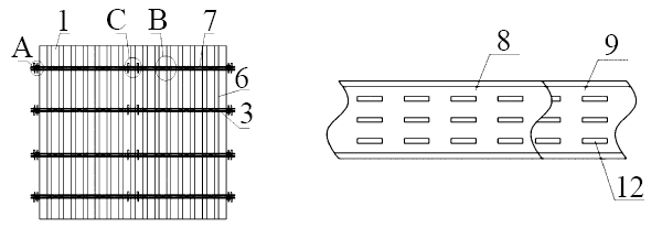
该新型剪力墙结构加固件包括固定在剪力墙两侧模板及用于固定模板的对拉螺杆,所述的模板外侧有固定架,固定架通过螺母和垫板固定在对拉螺杆上,固定架和模板间设置多跟方木,固定架主要由上梁板、下梁板和支撑块构成;支撑梁沿模板由下至上均匀布置,主要由上梁板、下梁板和支撑块构成,上梁板、下梁板平行设置,且上梁板、下梁板间固定有多个支撑块;对拉螺杆位于上梁板、下梁板之间的间隙内,所述支撑梁间通过连接插块连接固定,连接插块的两端分别插装在上梁板和下梁板之间,上梁板和下梁板上还均匀设置多个定位插孔,定位斜板插装在定位插孔内(图1)。


(c) (d)

(e) (f)
图1 加固件结构示意
(a)示意1;(b)示意2;(c)示意3;(d)示意4;(e)示意5;(f)示意6
1—剪力墙两侧模板;2—对拉螺杆;3—固定架;4—螺母;5—垫板;6—多根方木;7—支撑梁;8—上梁板;9—下梁板;10—支撑块;11—连接插块;12—定位插孔;13—定位斜孔;14—支撑垫板;15—折弯板
剪力墙的端面固定架与剪力墙表面固定连接,剪力墙的端面支撑梁和剪力墙表面支撑梁垂直设置,且剪力墙的端面支撑梁和剪力墙表面支撑梁通过梁板插装在上梁板和下梁板间的间隙进行连接,并通过定位斜板机械能定位。垫板两侧还设置折弯板,折弯板卡装在支撑梁上。
3 小结
本加固件结构简单,拆装方便,利用支撑梁采用立板结构设计,抗弯能力强,强度高,且板上开设多个定位插孔,不仅便于支撑梁间的连接,也可大幅减轻支撑梁重量,便于拆装及搬运,同时提高拆装效率,节省人力,具体实例如图2所示。

图2 现场实例
来源:建筑技术杂志社公众号
如有侵权请联系删除