行业动态

建筑技术丨狭小空间双层镀锌钢板夹离心玻璃棉复合风管安装技术

来源:admin  浏览量:  发布时间:2023-10-10 10:28:53

1 工程概况

中国共产党历史展览馆总建筑面积24.1万㎡,地上7层,地下3层,建筑高度55 m,属特大型博物馆。空调系统主要形式为全空气系统和风机盘管加新风系统。风机、空调机组集中设置于建筑地下层、地上夹层及屋顶设备区,通过敷设于狭小竖向井道空间的风管,为各层高大展厅提供新风。竖向风管系统繁多、水平向风管安装高度大且施工工期紧张,如采用传统的“粘钉、保温、缠玻璃丝布、刷防火涂料”风管安装方法则会导致施工周期长、质量不好控制、交叉作业多、材料浪费严重及成品保护难等一系列问题。经专家论证,创新性地提出了“场外加工、场内组装、多节组装、整体吊装”的施工思路。采用高效的工厂化预制加工,简化了施工程序,提高了施工质量及效率,节约了项目成本,减少现场环境污染,实现了工程高效、优质、绿色建造。

2 技术特点

选用新型双层镀锌钢板夹离心玻璃棉的复合风管,采取工厂预制加工生产方式,从而达到管线安装的标准化、规模化、产业化。风管防火保护层选用镀锌钢板,减少了防火板包覆的施工环节,防止风管外保温损坏,保证防火性能。法兰接口垫料采用橡塑海绵条替代8501密封胶带,有效防止法兰结露产生。采用该项技术节省了粘钉、保温、缠玻璃丝布、刷防火涂料及防火板包覆工序,解决了风管在狭小空间不便于安装的难题。复合风管剖面构造如图1所示。

图片

图1 复合风管剖面示意

3 施工工艺

3.1 工艺流程

综合深化设计→厂内预制加工→编码追溯→到场验收→支吊架安装→复合风管组装→复合风管吊装→系统漏风量试验。

3.2 施工要点

3.2.1 综合深化设计

利用BIM三维模型进行全专业机电综合管线深化设计(图2)。综合排布重点考虑支架位置、型材尺寸、阀部件数量、实际设备尺寸、检修空间、保温厚度、系统的完整性,结构的施工误差等因素,合理利用梁窝的空间,提升使用空间,做到排布合理。对于狭小空间内管线按照电气、给水、通风的顺序排布,防止风口遮挡影响风量。在现场结构复核基础上进行风管大样分段定尺,安排工厂排产加工。

图片

图2 BIM三维深化设计示意

3.2.2 厂内预制加工

(1)复合风管选材。

风管外壳为镀锌钢板,钢板镀锌层为120 g/;内衬保温材料为离心玻璃棉毡,厚度为空调风系统30 mm、防排烟系统40 mm;内衬玻璃棉保温材料带有防火涂层,接触气流的表面及端面带有丙烯酸树脂涂层保护,具有抗菌作用并符合国家以及国际卫生与环境安全有关标准;风管的整体燃烧性按GB 8624—2012《建筑材料燃烧性能分级方法》标准整体检测达到A级,耐火极限为>2 h。

(2)复合风管的生产工艺。

矩形风管每标准节长度为1 165 mm、1 415 mm(长度因镀锌钢板卷材宽度不同而不同),采用整条自动化生产线一次加工成型。直管的保温材料与镀锌钢板之间在全自动生产线上用胶粘剂粘接复合,再用焊钉焊接固定。风管三通、弯头等部件的内衬保温材料不应手工切割,需采用专用的高压水刀切割设备切割加工,板材也需采用自动设备切割,尽量减少板边毛刺、板缝歪斜带来的冷桥和声桥。风管长边≤1 250 mm时采用薄钢板共板法兰,高度不小于35 mm;风管长边>1 250 mm时采用角钢法兰,保证风管连接处紧密、牢靠。

(3)复合风管加固作法。风管边长为800 mm<b≤1 700 mm,采用金属支撑杆加固。支撑杆外漏螺母应扣塑料帽防冷桥。

(4)复合风管的法兰制作。

1)角钢法兰制作。风管角钢法兰加工时,焊缝应饱满,法兰表面平整。中、低压系统风管法兰的螺栓及铆钉孔的孔距不得大于150 mm。螺栓孔的位置处于角钢中心,相同规格法兰的螺孔排列应一致,具有互换性。

2)共板法兰制作。薄钢板共板法兰应与弹簧夹相匹配,弹簧夹长度宜为120~150 mm,安装间距应不大于150 mm,布置均匀。

3)法兰密封做法。角件与风管薄钢板法兰四角接口牢固、端面平整,并在四角填充密封胶,避免漏风,如图3所示。

图片

图3 密封示意

(a)法兰密封做法;(b)法兰密封构造

(5)复合风管制作注意事项。复合风管通风净尺寸为内部尺寸。风管外尺寸应增加设计需要的内衬保温层厚度。应将管道内衬保温层带有玻纤毡的表面朝向空气流,严禁颠倒安装。所有未安装钢挡风板的内衬保温层横断面应完全涂有胶粘剂。在所有关节处,内衬保温层横断面应整齐地对接。内衬保温层在矩形管段角落应折叠和压缩。内衬保温层纵向接缝一般只应设置在风管的折角处。特殊情况下,暴露的接头应涂覆胶粘剂,并安装额外固定用的机械紧固件。风阀、导流片或其他配件若放在内衬保温风管内,安装时不能损坏内衬保温层气流表面。

3.2.3 编码追溯

BIM模型风管大样完成分段定尺后,需对每段风管进行编码,常规编码形式可参照“区域–楼层–系统–编码号”,如图4所示。风管制作完成后要对风管进行强度和漏风量工艺性检测,合格后在风管外侧粘贴合格标志和电子编码。风管进场吊装时,作业班组可按照带有分段编码的BIM模型与风管编码进行匹配,逐系统逐区域有序吊装。

图片

图4 BIM模型软件分段编码示意

3.2.4 吊架安装

采用红外线经纬仪沿着风管轴线方向进行定位,支吊架安装位置应避免与风口、阀门、法兰、检查孔等冲突。当水平悬吊的主、干风管长度超过20 m时应设置防止摆动的固定点,每个系统应不少于1个。大型风管吊架下部应采取防松动措施,吊杆需双螺母锁固。考虑成品内保温风管重量大于常规镀锌钢板风管,支吊架间距需在国标图集基础上进行加密,支吊架型钢选用放大标号。风管水平安装经计算直径或长边≤400 mm时,支、吊架间距不大于3 m;直径或长边>400 mm时间距不大于1.5 m。风管垂直安装时至少设置2个固定点,支、吊架间距应不大于 4 m。

3.2.5 复合风管组装

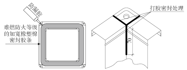
风管组装时应顺着支架吊装的方向,按照编号排序。根据复合风管规格和重量分单元组装,如图5所示。将风阀和风管在地面一起组装完成。复合保温风管法兰连接时,法兰接口垫料采用难燃防火等级的加宽橡塑棉密封胶条,如图6所示。除替代原有8501胶条作为法兰连接垫料作用外,还可内伸至两节风管内衬保温棉接缝处,形成三向“T”字形加强密封的内保温绝热构造,杜绝冷桥滴水现象发生。

图片

图5 复合保温风管组装示意

图片

图6 复合保温风管共板法兰连接防冷桥节点示意

3.2.6 复合风管吊装

水平组装完成的风管用升降平台同时抬起,升到指定标高后,安装支架横担,横担安装完成后下降平台检查风管是否平直。狭小竖井风管安装时,在屋顶设吊装平台采用手动葫芦,分单元组装,组装完成后下降到标高,固定立管支架。成排风管安装时应先里后外,先上后下。风管吊装完成,预留消声器距离,消声器安装时应采用法兰防结露的产品,避免法兰接口二次保温。风管大边≥650 mm的风阀、消声器、抗震支架应单独设置支架。

经国家防火建筑材料质量监督检验中心检验,成品内保温风管耐火极限可以达到2 h,避免了风管穿过≤2 h耐火极限防火墙处防火包覆工序。阀件单独采用轻钢龙骨框架外覆耐火极限不低于穿越处防火隔墙、楼板和防火墙耐火极限的防火板进行包覆。并与设计沟通确定了成品内保温风管在应用于≥3 h耐火极限防火墙处穿越风管防火包覆做法。穿越处风管上的防火阀、排烟防火阀两侧各2.0 m范围内的成品内保温风管及阀件一并采用轻钢龙骨框架外覆耐火极限不低于穿越处防火隔墙、楼板和防火墙耐火极限的防火板进行包覆。

3.2.7 系统漏风量试验

因复合风管在制作与吊装之间存在较长距离运输以及多次装卸,且制作与吊装为不同班组或不同单位完成,所以在风管制作后和吊装后进行两次漏风量测试。在整个施工过程中,各次漏风量测试结果均合格,且漏风测试耐压极限明显优于常规镀锌钢板风管漏风测试耐压极限。

4 结论

通过中国共产党历史展览馆工程成功实践,采用狭小空间双层镀锌钢板夹离心玻璃棉的复合风管安装技术节约了大量的人工、材料、机械,减少了工序,提高了施工效率,施工质量和安装效果明显优于普通风管做法。施工过程中贯穿“绿色施工”理念,取得了较好的环保效果。该施工技术对其他类似大型公用建筑具有一定的参考价值和指导意义