一种组合紧定式套件固定楼板预留套管防护装置,包括盖板、燕尾丝钉和若干个螺丝;对预留套管进行固定时,螺丝与模板固定连接,螺丝置于预留套管内侧对预留套管进行定位,预留套管上设有盖板,燕尾丝钉穿过盖板与模板固定连接。本装置对于预留套管固定简便,防护到位,具有较好的施工安全性与经济性。组合紧定式套件构造简单、固定牢靠、拆装快捷、新颖实用,可反复利用。施工时不需要使用铁钉、铁丝、泡沫板和塑料胶带等材料,该方法安装简便、可循环利用、预留洞口无遗留铁钉,具有美观、经济效益明显的特点,在未来的建筑安装施工领域必将有广阔的发展空间和应用前景。
1 技术领域
本装置属于建筑施工技术领域,具体涉及一种组合紧定式套件固定楼板预留套管防护装置,适用于建筑结构楼板中各种规格型号预留套管(一般直径不大于300mm),包括镀锌钢管、PVC预留套管等,组合紧定式套件可随工程进度进行周转施工。
2 应用背景
在建筑给水、排水及采暖工程施工过程中,通常会遇到不可避免的卫生器具、设备及管道预留孔洞的问题,尤其在厨卫或管道较为集中的小区住宅、医院、酒店旅馆等同类型建筑施工结构阶段,此类孔洞预留的特点是规格集中、预留及防护工作量大、施工烦琐。常规使用铁钉、铁丝、泡沫板和胶带等材料固定和防护预留套管,但涉及铁钉、铁丝、塑料胶带等辅材消耗及后期清理工作,成本较高且费时费力。
3 技术方案
为解决上述技术问题,本装置打破常规使用铁钉、铁丝、泡沫板和胶带等材料固定和防护预留套管,而是采用预留套管内部内置定位自攻螺丝,用燕尾丝钉和盖板组成的组合紧定式套件固定预留套管,对于预留套管固定简便,防护到位,具有较好的施工安全性与经济性。
具体技术方案如下:一种组合紧定式套件固定楼板预留套管防护装置,包括盖板,燕尾丝钉和若干个螺丝;对预留套管进行固定时,螺丝与模板固定连接,螺丝置于预留套管内侧对预留套管进行定位,螺丝呈对称分布,预留套管上设有盖板,燕尾丝钉穿过盖板与模板(楼板模板)固定连接。盖板为模板块(材质同楼板模板),厚度为1215mm;预留套管的内侧壁与螺丝接触,螺丝为自攻螺丝,预留套管固定于盖板与模板之间,燕尾丝钉还可以由自攻螺丝代替。
4 具体实施方式
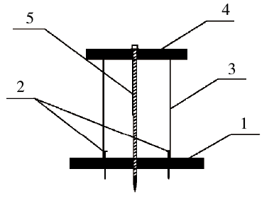
一种组合紧定式套件固定楼板预留套管防护装置,包括模板块,燕尾丝钉5和4个对称分布的自攻螺丝,如图1所示,当对预留套管3进行固定时,自攻螺丝与模板1固定连接,预留套管3的内侧壁与自攻螺丝接触,自攻螺丝对预留套管3进行定位,预留套管3上设有厚度为15mm的模板块,燕尾丝钉5穿过模板块与模板1固定连接,使预留套管3 固定于模板块与模板1之间。组合紧定式套件固定楼板预留套管防护装置固定预留套管3的施工方法包括如下步骤:1)在模板1上确定预留套管3中心点;2)安装预留套管3的内置定位自攻螺丝;3)安装预留套管3;4)在预留套管3上放置模板块,燕尾丝钉5穿过模板块与模板1固定连接;5)多层套管校正。当土建完成混凝土浇筑,达设计强度50%时,拆除组合紧定式套件固定楼板预留套管防护装置。图1为本装置固定预留套管示意。

图1 固定预留套管示意
1–模板;2–螺丝;3–预留套管;4–盖板;5–燕尾丝钉
5 实施效果
本装置充分利用了燕尾丝钉和自攻螺丝的紧定作用,同时利用废旧模板块防护,相对于传统套管防护结构具有以下优点。
(1)操作简便、固定牢靠:安装时只需定位紧定,无需其他辅材,单人操作2min内即可完成全部安装,固定牢固性好。
(2)降本增效、效益可观:组合紧定式套件,能反复利用,后期不需要清理棚顶铁钉及胶带,节省该部分人工费。
(3)节能环保、高效低碳:此种作法替换传统作法中塑料胶带和泡沫板封堵,既节省了消耗材料的使用,又减少了铁钉、铁丝、塑料胶带等辅材消耗及后期清理工作,同时废旧木板块得到了有效利用,实现了环保节能、绿色施工。
(4)适用广泛、前景广阔:广泛适用于各种建筑工程的结构施工阶段,尤其应用于住宅、酒店等套管预留工程量大的建筑体效果更佳。