行业动态

高层建筑烟道根部防水细部节点研究与应用

来源:admin  浏览量:  发布时间:2024-05-12 22:42:46

房屋质量问题中,屋面、地下室、厨卫渗漏是较为突出的部分。其中厨房及卫生间是住宅的“心脏”,承担了业主居住使用的大部分需求,而烟气道作为厨房及卫生间的“呼吸系统”,在需要满足住宅厨房排油烟及卫生间排异味的要求的同时,更需要满足防水技术要求,因而需要对厨卫间烟气道根部周边的渗漏进行加强处理。

一、背景技术及应用范围

1.背景技术

现有高层建筑的烟道结构一般是在高层建筑的楼板的拐角处,预留有方形烟道口,各层的烟道口垂直对应设置,之间通过成品烟道连接,在烟道拼接口内侧的楼板上设置有上下烟道封堵板的支撑钢筋,成品烟道为预制的方形管道,通过方形烟管将上一层预制好的方形管道底端放置在支撑钢筋上,下层预制好的方形管道顶接在支撑钢筋上,形成一个上下贯通的立体烟道。现有的施工结构中,防水层一般紧贴墙壁,然后在防水层的外部施工覆盖结构,这种结构分层明显,在受热等因素下会自然膨胀,尤其在防水层的端口部位容易分离,进而使水流沿分层之间的空隙渗漏,造成烟道根部渗水,防水性能一般,基于此,研究一种烟道根部防水节点构造是必要的。

2.应用范围

本技术适用于高层建筑厨房及卫生间中的烟道根部节点防水施工。

二、工艺原理及施工工艺流程

1.工艺原理

本工艺结构包括烟道、细石混凝土、内防水层、陶粒混凝土层、外防水层和饰面层。通过三道防水措施、一道防水细部收头做法,有效解决了现有烟道根部防水节点存在的防水层分层明显、易出现渗漏、防水性能差的问题。

2.烟道根部防水细部节点工艺流程

烟道根部防水细部节点工艺流程及施工工艺为:楼板及反坎浇筑成型→烟道安装→烟道侧壁及反坎间隙封堵→内找平层施工→内防水层施工→夹块二次浇筑→陶粒混凝土填充层施工→外找平层施工→外防水层施工→饰面层施工→验收/改进。

(1)楼板及反坎采用一体浇筑成型,浇筑前检查烟道钢筋预埋位置、数量及安装质量,应满足设计要求。反坎高度参考GB50203-2011《砌体结构工程施工质量验收规范》之9.1.6条,不低于建筑完成面150 mm。

(2)烟道安装。烟道安装参考22J916-1《住宅排气道(一)》,应在土建结构主体工程完毕后,装饰工程及其他设备管道安装之前进行。安装前检查每层楼板预留安装排气道孔洞,保证各层楼板预留孔洞尺寸和位置正确,上、下垂直对中,不合格部位提前整改。排气道应自下而上逐层安装。

(3)烟道侧壁与反坎间隙封堵。排气道安装就位后,在排气道与楼板预留洞之间的缝隙处支设楼板底模,用C20细石混凝土分两次将缝隙封堵密实,并做好防水处理。

(4)内找平层施工。参考JGJ/T 304—2013《住宅室内装饰装修工程质量验收规范》之5.3.1条,找平层与基层结合应牢固密实,表面平整光洁,无空鼓、裂缝、麻面和起砂等质量通病,烟道反坎根部、阴阳角处理应符合设计要求。

(5)内防水层施工。防水材料及施工质量,应符合GB 55030—2022《建筑与市政工程防水通用规范》之6.0.11条相关要求。防水施工完成后,应进行淋水、蓄水试验,楼、地面最小蓄水高度不应低于20 mm,蓄水时间不应小于24 h,墙面淋水试验时间不应小于30 min。

(6)夹块层二次浇筑。浇筑前确保内防水层节点收头符合设计及规范要求。夹块层浇筑的原材料及质量要求与反坎相同。

(7)陶粒填充层施工。陶粒填充层施工应符合设计及GB50209—2010《建筑地面工程施工质量验收规范》之4.8条相关要求。

(8)外找平层施工,要求同内找平层。

(9)外防水层施工,要求同内防水层。

(10)饰面层施工。施工应符合设计及相关规范要求。

(11)验收/改进,对已完工程进行检查验收,对不符合验收要求的进行维修改进,且其运行维护应符合GB55030—2022《建筑与市政工程防水通用规范》之第9条相关要求。

3.结构设置与操作要点

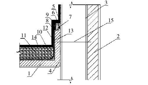
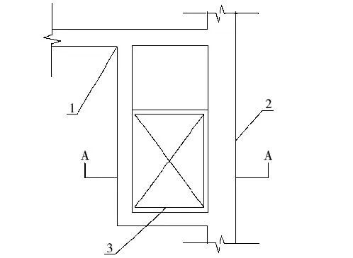
下面对烟道根部防水细部节点构造及操作要点进行说明(图1、图2)。

图片

图1  结构示意

1-楼板;2-墙壁;3-烟道

图片

图2  A–A向剖面示意

1-楼板;2-墙壁;3-烟道;4-细石混凝土;5-密封胶;6-延伸部;7-嵌槽;8-内防水层;9-夹块;10-内找平层;11-陶粒混凝土层;12-外找平层;13-外防水层;14-饰面层;15-钢筋

(1)第一道防水措施:防水反坎、密封胶和细石混凝土。

沿厨卫阴角部位在楼板上预留烟道洞口,洞口尺寸略大于烟道尺寸,便于烟道布置。防水反坎随主体楼板结构一体浇筑,规避了两次不同时间点浇筑的混凝土连接处出现易渗漏的松软粘合面,能极大地降低渗漏质量风险,并有效保证了混凝土成型后的观感质量。在楼板与烟道侧壁之间的缝隙内填充细石混凝土,并在细石混凝土的上部区域用密封胶封堵。密封胶和细石混凝土是烟道和楼板缝隙封堵的第一道措施,应做到粘结牢固,表面平整、封堵严密。

(2)第二道防水措施:内防水层。

在楼板的上部设置有内找平层,内找平层的坡度不小于2%,作用是为内防水层施工提供平面处平整、转弯处平滑的基础,内防水层包括由下至上依次设置的附加防水层、防水层和防水保护层。施工应符合国家有关标准、规范规定的技术做法及质量要求。

(3)防水收头细部措施。

在防水反坎的上部设置有延伸部,延伸部的侧面设置有嵌槽,嵌槽向内凹陷,内防水层延伸并固定在嵌槽内,在延伸部处的内防水层外布置有夹块,夹块的作用是从外部对内防水层进行夹紧,并使内防水层的端部暗藏进入嵌槽内。在实施时,延伸部、防水反坎和楼板为一体浇筑而成,嵌槽呈长方形结构,内防水层固定在嵌槽内,夹块为后浇筑结构,内防水层施工完毕后,在防水反坎的上部架设模具,并向内浇筑混凝土,待夹块凝固后,在内防水层的上部设置有陶粒混凝土层,在陶粒混凝土层的上部由下至上依次设置有外找平层、外防水层和饰面层。

(4)第三道防水措施:外防水层。

外防水层处于外部,延伸至烟道外壁,采用水泥砂浆抹弧,使防水反坎与楼板的交接处、防水反坎与烟道的交接处均形成平滑过渡面,避免出现硬性拐角,防止烟道与本层烟道口位置出现裂缝,内外两层防水结构相互配合,确保烟道根部的防水效果。

(5)夹块设置形式:内侧设置堵头,当内防水层装配在嵌槽内后,堵头能将内防水层紧密压紧在嵌槽内,夹块采用成品,其通过螺栓固定在延伸部的上部,施工效率高,固定牢固,顶紧力度强,顶紧完毕后,可在夹块的外部施工外找平层,使整个结构平整,为外防水层的施工提供基础,外防水层在结构上包括防水层和防水保护层,最后在外部根据施工需求布置饰面层。

三、效果分析

与现有技术相比,本技术通过设置与主体结构一体现浇的防水反坎、两道防水层及保护层的设计,确保了烟道根部的密封效果。

采用暗藏的方式来对内防水层的端部进行暗藏施工,并利用夹块的堵头进行夹紧,使内防水层的端部顶靠密封在嵌槽内,密封效果好,并同时结合外防水层的施工,内外层防水层相互配合,确保了烟道根部的密封效果。

四、结语

本技术通过在烟道根部设有防水反坎和铺设内防水层,提高了烟道根部的防水性能和密封性,有效防止烟道根部渗漏以及烟气泄漏事故的发生。该烟道根部防水节点构造结构设计简单合理,应用实施可行性高,实用性强。通过研究与项目实践应用,本技术具有良好应用前景,对提升公司技术应用水平,促进高层建筑厨卫防水防泄漏进步,具有良好的促进作用。在保证质量,提升工效等方面具有较好影响,对新形势下高层建筑防水、防渗漏的安全施工,具有良好推广应用价值。

摘自《建筑工人》2024年2月,杨愦绪,杨文静,宋磊