行业动态
建筑技术丨预制楼板连接节点施工技术研究
来源:admin 浏览量: 发布时间:2024-08-14 15:33:30
预制楼板是装配式结构抗震设计中的重要环节,在结构中起承受重力和侧向荷载并将其传递给支承结构的重要作用。在水平地震作用下,预制混凝土楼盖体系中各预制楼板依靠连接实现了竖向和水平方向的荷载传递,并构成一个整体。预制楼板连接包括板缝连接和端部连接,且连接形式会对结构的整体稳定性产生影响。
预制混凝土楼盖体系在地震作用下的受力性能是当前抗震设计中复杂且缺乏认知的研究方向之一。相比叠合板,预制楼板没有现浇层,楼盖的整体性和刚度较差,抗震设计的难度更高。相关研究表明,在水平地震作用下,预制楼盖体系的板缝节点将处于一个复杂的复合应力状态,包括平面内剪力、拉力(或压力)和平面外剪力等。预制楼盖体系在国际上还缺乏成熟的理论和公认的设计方法,因此,目前预制楼板在高烈度地震作用下的抗震设计目标是确保其强度和延性不低于对等的装配整体式结构,从而满足规范要求。
本研究回顾了近20年来国内外关于预制楼盖板缝连接的研究进展以及目前主要应用的预制楼板与支承结构连接方式,内容包括预制楼板与支承结构的连接、预制楼板的板缝连接和结论三部分。
1 预制楼板与支承结构连接
通过震后调查发现,大部分倒塌的楼盖都是由于预制楼板与支承结构之间缺乏牢固的连接。在水平地震作用下,连接节点的破坏会导致预制楼板与支承结构相分离,造成建筑整体刚度和稳定性大幅降低,最终导致楼板破坏甚至房屋倒塌。稳固可靠的连接节点可保证整体结构的稳定,并极大地减少了地震造成的损失,因此在预制楼盖体系中,选择合适的预制楼板与支承结构的连接节点极为重要。
常见预制双T板和预应力混凝土空心板与支承结构的连接方式如下。
1.1 双T板与支承结构连接
现有的双T板与梁、墙等支承结构的连接方式主要以焊接和螺栓连接等干式连接方式为主。根据双T板端部截面构造的不同可将连接分为板肋底连接、企口连接、钢制嵌入式连接件连接。肋底连接是双T板端部肋底直接与支承结构相连接;企口连接是对双T板和支承结构开槽形成企口连接;钢制嵌入式连接件连接是双T板通过预埋的连接件与支承结构相连。
1.1.1 板肋底连接
现行18G432–1《预应力混凝土双T板》给出了两种双T板与支承梁的连接方式。其中第一种连接在双T板肋底部和支承梁顶部设置相对应的预埋钢板,通过焊接将预埋钢件连接起来;第二种连接在支承梁顶部设置预埋钢件,在双T板肋底预埋钢管,通过螺栓将预埋钢件连接。这两种连接方式会加大结构的层高,且连接的整体性较差。
1.1.2 企口连接
企口连接是将双T板端部和支承梁设计成企口的形式,在企口处设置预埋钢板,并焊接连接形成整体(图1)。该连接方式可降低结构高度,但减小了截面高度,会引起端部凹角处的应力集中,导致企口端部在剪切力作用下更易发生对角拉伸开裂。

图1 企口连接示意
此外,由于双T板肋较窄且内部配置的钢筋分布比较密集,混凝土的浇注、密实会受到影响,因此对于双T板企口变截面连接的研究主要集中在端部的配筋设计,在保证节点受力性能的同时,便于施工和安装。
MATTOCK等对5种不同配筋构造的双T板企口连接进行了试验研究。结果表明:(1)配置斜向吊筋的企口与配置竖向吊筋的企口相比可以更好地控制裂缝的开展;(2)配置环形吊筋的企口比配置普通倾斜吊筋的企口具有更好的锚固效果,可有效防止混凝土劈裂破坏;(3)配置环形吊筋比配置普通倾斜吊筋的企口施工更复杂,但可减少焊接量和钢材使用量,降低端部钢筋的密度;(4)第五种企口结合了前四种企口的优点,该连接方式制作和施工更为简便;(5)企口使用了偏心于梁中心线的单个倾斜钢筋构造,板肋侧面更易发生开裂破坏,需尽量使钢筋靠近梁中心线附近。
NANNI等对配置Z形配筋的双T板企口端部进行研究。试验研究表明,配置有Z形筋的企口受力性能良好,此种企口的施工和安装比较简便,并且可减少端部钢筋的密集分布,使混凝土在端部的浇注和密实更容易(图2)。赵勇等对配置C形吊筋和封闭箍筋的双T板企口进行试验研究,如图3所示。

图2 配置Z形筋的双T板企口构造


结果表明,两种企口端部的承载能力基本一致,说明配置不同类型的吊筋对双T板企口端部的承载力影响不大;配置C形筋的企口端部主要发生受弯破坏,受力性能良好,并具有很好的延性,而配置封闭箍筋的企口端部发生剪切破坏且破坏突然,端部更容易发生脆性破坏。考虑到双T板肋较窄并且端部的钢筋分布密集,为了保证连接的传力可靠和施工简便,建议双T板企口端部采用C形吊筋。
1.1.3 钢制嵌入式连接件连接
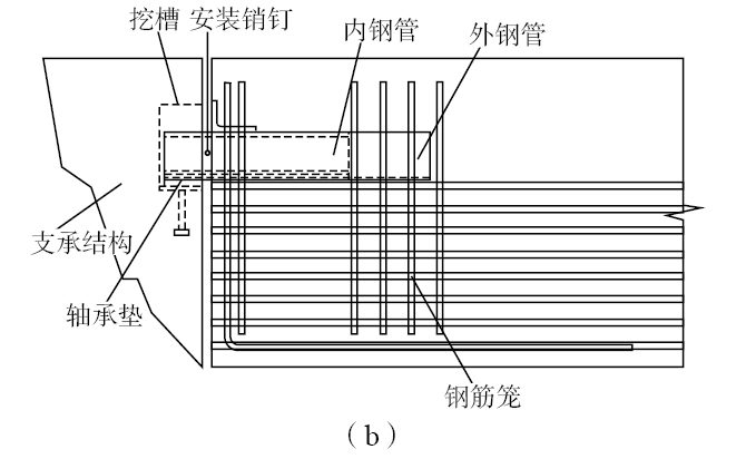
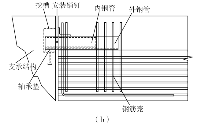
JVI公司发明了一种双T板端部钢制嵌入式连接件,称为shooter连接(图4),该连接件由内外两个嵌套的方钢管组成,且内钢管可以由钢丝拉出。该连接方式是将连接件嵌入在双T板中,将双T板吊装到预定位置,然后将内管拉出搁置在支承结构挖槽中的轴承垫上,并安装销钉防止内管的移动。POORE等对该连接进行了试验研究,结果表明:该连接的机械性能良好,为了达到shooter的机械设计能力,shooter周围必须有足够的混凝土提供所需的抗压支撑能力,由钢筋提供所需的抗拉支撑能力。且连接的破坏形式是剪切粘结破坏,破坏时梁中大多数钢筋并未屈服。对该连接进行有限元分析发现,不利裂缝最有可能从靠近双T板的端部底面出现,并向施加的荷载位置扩展。该连接的优点是不用通过钢托座或企口连接,还可以消除连接处的焊接,降低施工成本。此外,允许由于徐变、收缩和温度变化而导致的轴向体积移动。


图4 钢制嵌入式连接件示意
(a)连接件构造示意;(b)安装示意
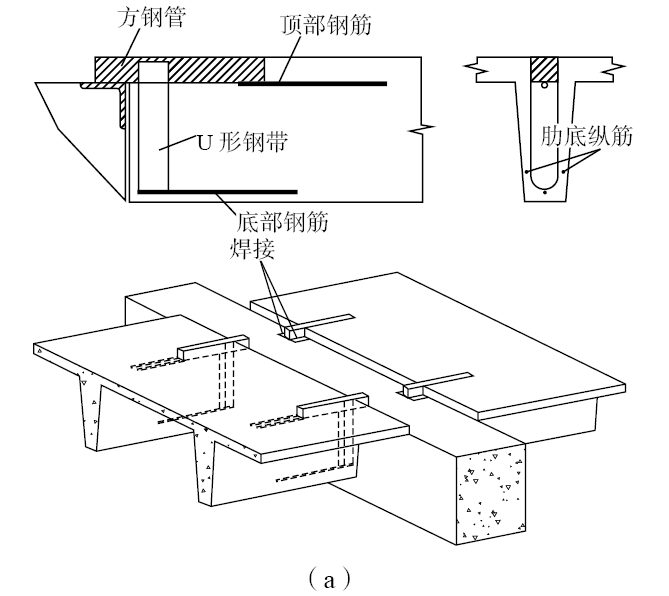
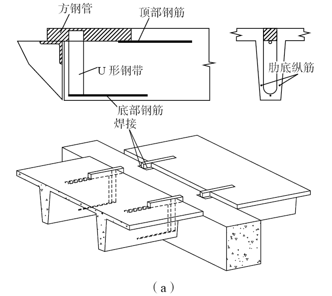
PCI设计手册提供了两种钢制嵌入式连接件连接的吊架连接方式,如图5所示,该连接方式将连接件嵌入双T板内,然后将悬臂钢件与支承结构上的预埋钢件焊接连接。
Cazaly吊架由悬臂的空心方钢管、U形钢带以及锚固钢筋组成,该连接是靠钢带对混凝土的限制以及底部钢筋的锚固作用抗剪力。
研究发现:(1)Cazaly吊架的破坏是由于混凝土和底部锚筋发生剪切破坏,虽然发生较大的应变,但没有发生顶部钢筋或钢带的失效,钢带内混凝土也未发生破坏。需要注意的是,Cazaly吊架本身不具备承受水平或轴向力的能力,需要配置顶部钢筋,以防止构件的拉出破坏;(2)Loov吊架由悬臂的钢板、斜向钢筋以及顶部的锚固钢筋组成,能通过板内部垂直覆盖预应力钢筋束,使部分预应力钢筋可以覆盖在板端部,从而有效减少端部裂缝的开展。该节点的受力性能良好,且重量约为Cazaly连接的一半,制作安装也更简便。


图5 吊架连接示意
(a)Cazaly吊架连接;(b)Loov吊架连接
基于Cazaly吊架和Loov吊架两种连接方式,王晓锋等提出了钢带企口和拉筋企口两种连接方式并进行了试验研究。两种连接都将顶部的钢件换成了内部灌浆的钢管。此外,钢带企口还在Cazaly吊架的基础上加入了受剪钢筋。研究表明:钢带企口受力性能良好,可用于实际工程;而拉筋企口的钢管和混凝土的拉接表现较差,易发生开裂,对受力性能影响较大,仍需要进一步改进并研究其性能。
综上所述,现有的双T板与支承结构连接方式种类繁多,各具优缺点。板肋底连接方式的构造简单,端部无需特殊配筋构造即可满足性能要求,并且施工安装简便,但是双T板保持全截面会增加结构的层高,造成成本提升;企口连接方式能够降低结构的层高,且施工安装也比较简便,但需要采用特殊的配筋构造,以提高端部的受力性能以及抗裂性能,增加构件的设计以及制作难度;钢制嵌入式连接件的连接方式不用削弱截面,且不需要额外设置钢托座或企口就可以降低结构的层高,降低了施工和安装的难度,但是承受较大的荷载作用时连接可能会失稳。
1.2 预应力空心板与支承结构的连接
99zg408—1999《SP预应力空心板技术手册(附册一)》中给出了两类SP预应力空心板与支承结构的连接方式:预埋钢件和锚筋连接。其中预埋钢件是在支承结构和板端设置预埋钢件,通过焊接连接形成整体,该连接焊接接头的强度和严密性较高,但是焊缝的施工质量不稳定,施工比较复杂;锚筋连接是在板缝或支承结构中预置锚固钢筋并灌浆连接,该连接施工简便,连接的整体性很好,但是湿作业的存在会造成施工周期变长。
标准图05SG408—2005《SP预应力空心板》也给出两种预应力混凝土空心板与支承结构的锚筋连接方式。第一种连接方式在板缝中设置单根锚固钢
筋,第二种连接方式在板缝中设置1组钢筋网,且在支承结构上设置了垫板条(橡胶垫片或水泥砂浆),通过灌注砂浆(或细石混凝土)将空心板与支承结构连接形成整体。相比设置单根锚固钢筋,设置钢筋网的连接方式能提高连接的受力性能,但也会增加连接的施工难度和成本。
综上所述,预应力空心板与支承结构之间通常采用预埋钢件连接和锚筋连接。预埋钢件连接便于构件制作以及现场施工。锚筋连接可提高预应力空心楼盖的整体性和抗震性能,但是湿作业的存在会增加施工周期。
2 板缝连接
目前常用的连接件种类繁多,为了明确研究重点以及进一步探究如何对连接件进行科学、准确的抗震设计,汇总了近20年国内外学者的相关研究内容。结果表明:国外研究主要集中在双T板连接件上,研究对象主要为JVI连接件、预制弦连接件、卡式连接件;国内研究较少,且集中在空心板连接件上,目前主要研究成果为庞瑞等提出的新型全预制装配式RC楼盖体系以及相应连接件;预制楼盖体系的连接件分布间距在1.0~2.5m。
根据汇总结果,重点探讨JVI连接件、预制弦连接件、卡式连接件3种机械连接件的性能与设计要求。
2.1 双T板连接件
双T板是目前预制楼盖体系中应用最多的板型,常用于停车场等大跨度楼盖体系,双T板的连接件按照作用主要可分为抗弯连接件和抗剪连接件。抗弯连接件位于板缝两端位置,负责提供面内抗弯强度;抗剪连接件沿板缝中间放置,负责提供面内抗剪强度。目前常用的预制双T板楼盖连接件主要为卡式连接件、JVI连接件和弦连接件。其中卡式连接件、JVI连接件是抗剪连接件,弦连接件是抗弯连接件。为确保楼盖体系的整体性,制作过程中通常将连接件嵌入双T板中,并在现场安装过程中将相邻双T板上的连接件进行焊接。目前,双T板的连接大多采用混合式连接方法,即连接件与板缝现浇相结合,以保证结构具有足够的抗震性能。为了确保预制楼盖体系的强度和刚度不低于对等的装配整体式结构,学者对连接件的抗震性能做了大量研究。
2004年,ABDEL等对JVI连接件进行了29个单调和循环加载试验。试验结果表明:在剪切与张力作用下,连接件的水平剪切强度始终保持在相应的无拉伸荷载情况下的70 %左右;在所有的循环水平剪切试验中,连接件破坏的原因都是连接件面板与钢托座连接处发生断裂,表现出连接件在混凝土中有足够的锚固。
2009年,CAO等对美国常用的7种双T板连接件的拉伸和抗剪性能进行了评估,并对连接件的细部设计提出了建议,以提高其连接强度和变形能力。试验结果表明:卡式连接件具有较大的变形能力,但是由于连接件钢托座与混凝土的表面嵌入面积小,卡式连接件的承载能力有限;弦连接件具有较大的刚度,但是延性较差;在单调剪切与张力的作用下,JVI连接件和弦连接件的剪切强度都因拉力的存在而降低。
2013年,NAITO等提出了一种试验方法,评估预制混凝土板系统中所使用的嵌入式连接件的强度和变形能力,该方法实现了以统一的方式确定连接件的连接属性,从而可以量化现有的和新的连接形式,并在楼板系统中有效使用。同年,REN等将所做的200多个连接件试验的数据(刚度、强度、变形性能)汇总为一个连接件综合性能数据库,并提出了一种简化的静力弹塑性建模方法,预估楼板体系的弯曲和剪切响应。根据REN等的试验数据可以得出,JVI连接件和卡式连接件的变形能力极佳,预制弦连接件的变形能力相对较差。
2007年,WEI等提出了描述离散连接的预制混凝土结构节点间的变形行为和荷载分布的简化有限元分析方法,将复杂的机械连接件用桁架单元替代,采用二维分析模型分析预制混凝土双T板的面内变形和内力分布。
2015年,WAN等提出了一种用于对预制混凝土楼板进行二维有限元建模的楼板连接单元,连接件单元由大多数有限元软件库中现成的标准单元类型组合组成。经过模拟与试验分析,结果表明:该连接件模型可有效用于二维有限元离散模型的静力弹塑性分析,从而简化预制楼盖体系的有限元分析。
从延性的角度分析,JVI连接件和卡式连接件表现出了优良的延性,能够满足高烈度地震对延性的要求;从强度的角度分析,卡式连接件的强度较低,不适用于高地震区,JVI连接件具有较大的初始刚度,可满足高地震区对强度的要求。综上所述,JVI连接件的延性和强度均满足高地震区的抗震设防要求,可以应用于高地震区。
2.2 预应力空心板连接件
预应力空心板通常采用灌浆连接,这种连接也称为灌浆剪切键,如图6所示。通过在板缝中添加钢筋(图7)、放置预埋件等结构措施,提高SP预应力空心板的整体性与抗震性能。由于在预应力空心板中放置预埋连接件的难度较高,因此在上述措施中,较为常用的是在板缝中添加钢筋进行加固。

图6 灌浆剪切键示意

图7 连接节点加固示意
在低地震区,灌浆剪力键可以提供足够的抗剪强度。但是在高地震区,由于粘附力的丧失,板缝连接处可能会出现滑动机制。为了确保结构在高烈度地震作用下的稳定性,MENEGOTTO等设计了一种板侧轮廓为连续的正弦波形状的特殊板缝连接(图8),并对采用这种板缝连接的预制空心楼板进行了足尺试验。试验结果表明,试件基于楔入作用和波浪板–砂浆界面产生的摩擦力形成了稳定的循环剪切传递机制,可有效阻止剪切键的滑移。这种新型节点有效提高了预制空心楼板的强度和延性,改善了楼板的抗震性能。经试验证实,采用正弦波形板缝节点的空心楼板可在高烈度地震作用下使用。

图8 波形板缝节点
我国也有一批学者对预制空心楼盖体系的板缝连接做出了改良。庞瑞等提出了一种工业化程度很高的新型全预制装配式RC楼盖体系,新型楼盖中采用挑耳梁和企口板,能有效提高预制装配式楼盖的整体性和平面内刚度。经试验,其水平等效剪切刚度基本值是传统预制装配式楼盖结构的14倍左右。
2012年,庞瑞等对采用了不同连接件的新型全预制装配式RC楼盖体系进行了平面内低周反复荷载下的足尺模型试验。试验结果表明:卡式连接节点、盖板式连接节点和卡式–盖板混合式连接节点具有较好的延性和耗能能力,其中卡式–盖板混合式连接节点具有较高的承载力、延性和耗能能力,是理想的全预制楼盖板缝连接节点。
2019年,庞瑞等又对新型全预制装配式RC楼盖体系的板缝节点平面内受力性能进行了更系统全面的足尺模型试验研究。试验结果表明:拉力的存在会降低板缝节点的抗剪性能,且拉剪比越大,削弱程度越高;高拉剪比会降低板缝节点的延性,且在极限荷载下,节点会出现连锁破坏反应。
综上所述,波形板缝节点具有良好的强度和延性,适用于高烈度地震区,是预应力空心板的板缝节点抗震设计的优良选择;目前庞瑞等开发的新型全预制装配式RC楼盖体系仍处于试验阶段,仍需进一步改良和加强。
3 结论
预制混凝土楼盖体系是未来建筑结构高度工业化发展的理想选择,该体系的抗震设计一直是学者进行试验和理论分析的重点对象,其中的关键在于连接节点。通过回顾国内外学者对预制楼盖体系连接节点的研究,可以得出以下结论。
(1)双T板与支承结构的连接中,板肋底连接方式构造简单、施工安装简便,但是成本较高;企口连接方式能够降低结构的层高,但设计、制作难度也会提升;钢制嵌入式连接件连接方式可降低结构的层高且施工安装简便。预应力空心板与支承结构的连接中,预埋钢件连接制作和施工简便,楼盖的整体性较差;锚筋连接可以提高楼盖的整体性与受力性能。
(2)板缝连接部位是楼板中相对薄弱的环节,因此预制楼盖体系的抗震设计关键环节在于连接件的设计。在连接件能够具备与现浇层中的钢筋相当的承载力和延性的条件下,在高烈度地震区采用预制楼盖体系是可行的。
(3)双T板的常用连接件中,卡式连接件由于刚度较低,承载力较差,不适用于高地震区;弦连接件和JVI连接件刚度较大,强度和延性都可以满足高地震区的需求。
(4)预应力空心板主要采用在板缝中添加钢筋的方式进行板缝连接的加固。波形板缝节点以其良好的强度和延性成为未来可以应用于高烈度地震区的预应力空心板板缝节点的优良选择。
此外,庞瑞等学者开发了一种新型全预制装配式RC楼盖体系,提高了传统的预应力空心楼盖体系的抗震性能,具有良好的发展前景。
摘自《建筑技术》2023年6月,张广平,张轶,于婷,吴统云