行业动态
建筑技术 | 现浇结构竖向构件施工缝模板分段式加固技术研究
来源:admin 浏览量: 发布时间:2024-08-14 15:46:49
在现代施工技术中,铝合金模板作为一种新型模板系统,因其安装效率高、成型质量优良、可循环利用等特性,逐渐在高层住宅工程中大规模应用。然而在医院、学校等公共建筑中,由于建筑结构变化多样、标准层不连续或数量不足,传统的木模板系统因加工便捷,组合灵活、多样,具有较高的适用性,仍被广泛使用。木模板系统受限于材料强度较低、加固方式不固定及作业人员水平参差不齐等因素的影响,在施工过程中因加固措施不到位而导致的现浇结构构件尺寸偏差等缺陷发生率较高,当主要受力构件出现严重缺陷时,将对结构安全造成不利的影响。在柳州某医院迁建项目的施工过程中,通过对竖向构件施工缝模板加固工艺进行改进,形成了一种可循环利用的施工缝模板分段式加固技术。
1 工程概况
柳州某医院迁建项目由住院楼、门诊楼、医技楼等组成,总建筑面积83 480 m²。项目住院楼为16层,建筑面积23 436.80 m²,框剪结构,患者电梯厅、排烟机房及消防梯等部位设计剪力墙厚度为300 mm,外剪力墙施工长度为79 400 mm/层。住院楼受使用功能需求限制,主体结构仅9层、11层、13层以及10层、12层、14层结构形式相同,其他楼层均为非标准层,且楼层横向框架梁均设计为水平加腋梁形式。由于住院楼结构特殊,各楼层结构差异性较大,项目模板系统采用多层木胶合板、扣件式钢管脚手架方式组织施工。
2 结构施工重点与难点
(1)电梯井处剪力墙数量为18幅/层,其中12幅位于病床电梯内。为确保电梯运行平稳,剪力墙施工缝接茬部位轴线位置偏差应不大于8 mm。
(2)建筑物最大层高5 400 mm,剪力墙厚度300 mm,按竖向构件新浇混凝土对模板产生的侧压力计算公式=0.22·γc·t0·β1·β2·V0.5,构件模板侧压力峰值出现在根部位置,模板根部加固措施对侧压力约束起关键作用。
3 传统加固工艺概述及现场数据分析
3.1 传统工艺概述
在传统施工工艺中,竖向构件施工缝模板加固作法为在施工缝处安装压脚板,防止漏浆或在施工缝下部一定距离范围内预埋水平向对拉螺杆。在上层剪力墙、框架柱模板安装时,将模板向下延伸,钻孔后与下层结构顶部预留的对拉螺栓一起加固形成整体。该工艺的缺点是:施工缝处预埋螺杆定位要求高,安装效率低;拆除模板时易导致模板损坏,模板损耗率高;预埋螺杆需二次切割、防锈处理,造成工序、劳动力及成本增加;预埋螺杆无法实现回收再利用。
3.2 现场数据分析
通过案例项目住院楼1~3层竖向构件(柱、墙)及2~4层水平构件(梁、板、梯)累计6批次的《现浇结构外观及尺寸偏差检验批质量验收记录》分析得知,项目现浇结构外观及尺寸偏差检验批一次合格率仅为66.7 %。通过两个不合格批次竖向构件验收项目的数据分析,对外观质量缺陷、轴线位置、垂直度、截面尺寸、表面平整度5项内容的缺陷频数进行统计。结果显示,竖向构件根部的“轴线位置偏差”及“表面平整度”缺陷项目的占比高达64.1 %,是造成检验批一次验收合格率低下的主要原因。
4 改进后加固工艺
为降低和消除现浇结构竖向构件轴线位置偏差和表面平整度偏差对验收合格率的影响,改进竖向构件根部的模板加固工艺是关键。
现浇结构竖向构件施工缝模板分段式加固技术是针对传统工艺缺点进行的改进,结合三段式止水螺杆的工作原理,在剪力墙、框架柱水平施工缝下部一定距离范围内,于竖向构件外侧面模板封闭加固前,沿水平方向外侧按照设计间距预埋连接套筒,待剪力墙、框架柱混凝土浇筑完成后,将外侧模板拆除后,利用预埋的成品锥筒连接件作为锚固点,进行上层竖向构件模板体系安装与加固。
现浇结构竖向构件施工缝模板分段式加固技术的先进性表现为:(1)制作工艺简单,安装拆除方便,施工效率高;(2)可有效降低对拉螺杆处多层木胶合板的损坏率;(3)锥筒连接件、对拉螺杆可实现重复利用;(4)能有效降低和消除竖向构件施工缝处轴线位置偏差、蜂窝或露筋等质量缺陷。
5 工艺流程及操作要点
5.1 材料与机具
(1)施工材料。3 mm厚钢板、18 mm×20 mm螺栓、6螺纹钢筋、成品锥筒连接件( 18 mm)、18 mm螺杆、山形扣件、 18螺帽、4mm×40mm×80mm矩形钢管、橡胶垫块、模板、方木、48.3 mm×3.6 mm钢管、防锈漆、焊条、抗裂砂浆等。
(2)施工机具。主要包括型钢加工、制作所需的所有机具,电焊机、切割机、气割设备(包含氧气和乙炔)。
(3)辅助机具。除渣锤、钢卷尺、粉笔、墨斗线等。
5.2 工艺流程
现浇结构竖向构件施工缝模板分段式加固技术,施工工艺流程如图1所示。

图1 工艺流程
5.3 施工准备
(1)根据构件规格编制模板工程施工方案,确定对拉螺杆布置间距、次龙骨高度,以明确预埋连接套筒的布置间距、矩形钢管型号。
(2)根据施工方案及材料计划表,进行分段式加固体系材料的采购、加工。
5.4 分段式加固构件加工
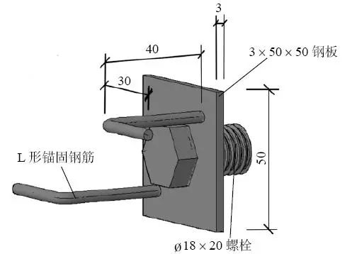
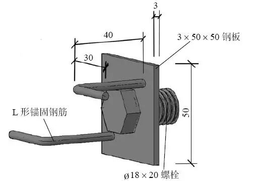
(1)锚固连接件制作。选用3 mm厚钢板作为连接板,尺寸为50 mm×50 mm,中心部位开直径18 mm圆孔,将 18 mm×20 mm螺栓穿入连接板开孔内,螺栓端部与连接板焊接形成整体,连接板另一侧焊接2根L形锚固钢筋(图2)。

图2 锚固连接件加工示意
(2)分段式钢龙骨制作。采用矩形钢管制作,抗弯、抗剪强度应满足设计要求。截面高度应与配套使用的方木截面高度相近,误差不大于5 mm。本研究矩形钢管截面为4 mm×40 mm×80 mm,长度为600 mm。在矩形钢管高度方向,底部开直径18 mm圆孔(孔道直径与螺杆规格相匹配),用于加固对拉螺杆,圆孔孔道中心距离钢龙骨底部100 mm。钢龙骨背侧选用10 mm×50 mm×50 mm钢板垫块与矩形钢管通过点焊连接,形成整体。上部钢垫块上缘距离龙骨中心点50 mm,外模板封模时,模板下边缘由施工缝向下延伸50 mm,防止错台、错浆,并以该钢垫块上缘为支撑面。下部钢垫块上缘与对拉孔道下缘相平齐。钢垫块表面设置橡胶垫块,采用粘结工艺连接,钢垫块与橡胶垫块厚度总和应大于项目使用的模板厚度3~5 mm。
(3)预埋锚固连接件。首层竖向构件钢筋绑扎、验收后,进行竖向构件模板的安装。根据模板工程计算文件确定的对拉螺杆横向间距进行预埋锚固连接件安装。安装时在完成编号的外模板上缘口下200 mm位置利用手持式电钻开孔,孔径直径18 mm,横向间距按照方案确定,宜不大于600 mm。将锚固连接件与成品锥筒连接件旋紧连接成整体,锥筒连接螺口与开孔处对齐后,由模板外侧依次放置5 mm×50 mm×50 mm钢垫片,并穿入直径为18 mm螺栓,完成预埋锚固连接件的固定及安装。最后进行剪力墙、框架柱内外侧模板的安装及其他普通对拉螺栓的安装及加固,为便于锥筒连接件后期旋出重复利用,锥筒连接件表面应均匀涂抹脱模剂。
(4)首层构件施工。预埋锚固连接件及模板安装完成并验收通过后,进行首层竖向构件浇筑施工。竖向构件浇筑成型12 h后,依次进行模板系统主龙骨(钢管)、次龙骨(方木)、侧模板的拆除,并将用于固定成品锥筒连接件的外侧螺栓及钢垫片拆除、回收、再利用。由于后续施工周期较长,约5~7 d/层。为便于成品锥筒连接件拆除,侧向模板拆除后,应立即用套筒扳手将锥筒连接件逆时针松扣脱出后,再顺时针施拧紧固。
(5)上层竖向构件模板加固施工。首层结构施工完成,建筑物外围竖向构件侧向模板拆除完成,且竖向构件钢筋绑扎、验收通过后,即可进行上层构件模板安装及加固。上层竖向构件(外围)模板安装时,依据编号将模板就位。将直径为18 mm螺杆旋入预埋的成品锥筒连接件内拧紧,随后将分段式钢龙骨(次龙骨)套入螺杆内,依次完成主龙骨(48.3 mm×3.6 mm钢管)、山形扣件及螺帽安装,并进行临时固定。竖向模板安装时,底层模板下部内侧(下探50 mm范围)粘贴1层发泡型双面胶带,将模板从楼层面施工缝处下探50 mm,支撑于分段式钢龙骨内侧的钢垫块顶面处。分段式钢龙骨间,采用普通方木作为次龙骨时,方木截面高度应与钢龙骨截面高度一致或相近。随后对山形扣件处螺帽进行施拧完成加固。竖向构件外侧模板顶部重复步骤(3),进行预埋锚固连接件的安装。
(6)混凝土浇筑。模板验收合格后,进行竖向结构及梁板混凝土的浇筑。待竖向结构混凝土浇筑完成12 h后,即可拆除竖向构件模板,并将施工缝处预埋的锥筒连接件、螺杆拆除后,重复利用于上一层结构施工。重复步骤(4)(5)向上逐层施工,直至封顶。
(7)锥筒连接件孔洞封堵。主体结构施工2~3层后,即可对锥筒连接件孔洞进行封堵。封堵孔洞时,首先应使用防锈漆涂抹混凝土构件内外露的锚固连接件端部,涂抹次数不少于2次。待防锈漆干燥后,采用抗裂砂浆填补孔洞,填充抗裂砂浆应密实,表面与混凝土构件表面相平。
6 质量控制措施
6.1 质量控制标准
矩形钢管、钢板应符合GB/T 700—2006《碳素结构钢》规定;钢结构焊接工艺应符合GB 50205—2020《钢结构工程施工质量验收标准》中相应要求;所采用的焊条应符合GB/T 5117—2012《非合金钢及细晶粒钢焊条》或GB/T 5118—2012《热强钢焊条》的规定,其型号应根据设计确定。
6.2 工程质量保证措施
(1)型钢进场应有出厂合格证或出厂检验报告,其质量必须符合有关标准规定。
(2)型钢应平直、无损伤、表面不得有裂纹、油污、颗粒状或片状锈蚀。
(3)当发现型钢脆断、焊接性能不良或力学性能显著不正常等现象时,应对该型钢进行化学成分检验或其他专项检验。
(4)焊条、焊剂应有产品合格证。
(5)各种焊接材料应分类存放,妥善管理,且应采取防止锈蚀、受潮变质的措施。
(6)抗裂砂浆应符合GB/T 25181—2019《预拌砂浆》的要求。
(7)锥筒连接件孔洞修补时,基层吸水性强或表面过度干燥的基层,应喷洒少量清水,润湿基层后再进行施工。
(8)抗裂砂浆在使用时,一次不可调制过多,视施工用量而定,如出现结块现象,不应继续使用。砂浆施工及储存温度要求在5 ℃以上。
7 结束语
现浇结构构件施工缝模板分段式加固技术施工工艺简单、便捷,锚固连接件的原材料均为施工现场常见材料,取材方便,且成本低廉,经测算仅为2.3元/个。该技术能有效降低和消除剪力墙、框架柱施工缝处错台、漏浆、蜂窝或露筋等质量缺陷。同时可大幅降低对拉螺栓处多层木胶合板的损坏率,加固工艺中预埋的锥筒连接件可在模板拆除后取出,并继续应用于上一层结构施工过程中,实现重复利用,降低了施工成本,经济效益和社会效益良好。
摘自《建筑技术》2023年6月,张之华