行业动态
装配式钢结构工程ALC条板墙及外保温一体板施工研究
来源:admin 浏览量: 发布时间:2024-10-20 11:06:56
当前装配式钢结构蓬勃发展,装配式钢结构建筑被认为是实现建筑工业化的最佳结构形式。装配式钢结构建筑是由结构系统、三板系统(内墙板、外墙板和楼承板)、设备管线系统和内装系统四大系统集成的整体。ALC加气混凝土条板墙作为目前主流的墙板体系之一,在钢结构中得到广泛的应用,同时随着建筑的复杂程度发展,加气混凝土条板墙通常与保温一体板、遮阳构件、玻璃、石材等组合应用。
以北京怀柔医院二期扩建工程为例,研究ALC加气混凝土条板墙如何与结构钢构件连接的问题,并研究II型保温装饰一体板在使用高度超过27 m时的施工技术,为ALC加气混凝土条板墙和II型保温装饰一体板在装配式钢结构上的安装提供技术支持。
1 工程概况
北京怀柔医院二期扩建工程总建筑面积99 065 m2,其中地上建筑面积61 979.44 m2,地下建筑面积37 085.56 m2。地上结合建筑平面布置由防震缝分成门诊大厅、A区和B区3个结构单体。北京怀柔医院二期扩建工程的装配率为75.5 %>50 %,满足装配式建筑评价的基本要求,根据GB/T 51129—2017《装配式建筑评价标准》第5条评价等级划分,北京怀柔医院二期扩建工程装配式建筑评价等级划分为A级。
2 施工难点
北京怀柔医院二期扩建工程地上采用装配式钢框架结构,其中钢框架柱为矩形钢管柱,钢框架梁截面有H型钢梁、焊接工字钢梁、焊接箱形梁;楼板为钢筋桁架楼承板;内隔墙、外围护墙体均采用ALC加气混凝土条板墙,强度等级A 5.0,密度等级B06;医疗综合楼A区一至三层,B区一至五层外围护墙体上的窗户跨度大,跨度最大的窗户达到了42.5 m,窗户的条板加固不能按照常规方式进行。
外幕墙采用由保温装饰一体板、遮阳水泥纤维板(窗间遮阳板)、玻璃窗墙系统、铝单板、铝格栅、铝合金隔热窗、防水百叶、防火窗、石材幕墙等组合而成的复杂外墙体系,工程外立面图(局部)如图1所示。

图1 工程外立面图(局部)
北京怀柔医院二期扩建工程外墙系统复杂,现有图集已经不能满足要求,在处理ALC加气混凝土条板墙与复杂外墙系统方面,现阶段国内没有相关的技术积累。
若外墙条板安装、建筑外窗、外墙外保温系统安装分别施工,将会导致外墙各个系统的受力骨架体系重复设计和施工,造成不必要的浪费。因此,综合考虑外墙构件和外幕墙的受力体系与ACL加气混凝土条板墙安装时的外门窗洞口加固设计,通过一种外墙墙架体系,将外墙构件、外幕墙的设计荷载,传导至主体钢结构上,确保外墙体系受力合理,实现建筑效果,并且减少施工难度,保证其施工质量,这是施工的难点。
JG/T 287—2013《保温装饰板外墙外保温系统材料》给出了I型保温装饰板的单位面积质量<20 kg/m2,II型保温装饰板的单位面积质量为20 kg/m2~30 kg/m2,II型保温装饰板的使用高度不宜高于27 m,超过27 m时应当加强举措且试验其安全水平。
北京怀柔医院二期扩建工程保温装饰一体板厚度为130 mm,单位面积质量为22.4 kg/m2,为II型保温装饰板,使用高度为48.1 m,超过27 m,超过规范要求。研究出保温装饰一体板在ALC墙体上的安装方法,使其满足热工性能,安装牢固,杜绝保温装饰一体板后期发生脱落的风险,也是施工的难点。
3 蒸压加气条板在装配式钢框架上的安装技术研究
3.1 墙架构件设计
北京怀柔医院二期扩建工程外幕墙的墙架系统由墙架、支承件和预埋件组成,根据墙板安装方法的特点,墙架的构件截面为角钢或方管,本工程墙板全部为竖向连接。
墙板自重和外荷载通过支承件传递给墙架,再由墙架传递给钢柱,墙板自重的偏心作用使得钢柱承受轴向压力和弯矩的共同作用。因此墙支架需要满足整体稳定、局部稳定的要求和强度、刚度的要求。
运用结构计算软件MIDAS、PKPM等对墙架进行了建模计算,墙架验算模型和墙架变形图如图2和图3所示。

图2 B区东立面墙架验算模型(模型局部)

图3 B区东立面墙架变形图(模型局部)
墙架系统综合考虑外幕墙系统自重、风荷载、地震荷载等作用。经过反复优化,针对不同的外窗洞口采用不同的墙架构件,以保障外墙系统的安全。
3.2 墙架结构节点研究
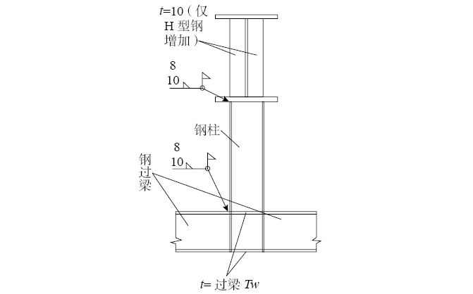
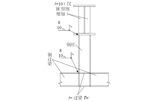
墙架系统根据外立面洞口和建筑做法布置,通过在结构钢梁下挂墙架框梁、结构钢柱上设置墙架框梁钢托座的方式,将外墙荷载传递给主体钢结构,节点如图4、图5所示。墙架系统完成后,再安装墙架中的ACL加气混凝土条板墙,ACL加气混凝土条板墙与墙架均采用钩头螺栓连接。

(a)

(b)
图4 钢梁下挂墙架节点示意
(a)立面;(b)剖面

(a) (b)
图5 墙架钢托座节点示意
(a)立面;(b)剖面
统一考虑保温装饰一体板与ACL加气混凝土条板墙安装,将幕墙主龙骨及窗间遮阳板龙骨与ACL加气混凝土条板墙墙架连接,减少外幕墙对结构钢梁的直接影响。
窗间墙遮阳构件平面图如图6所示,节点图如图7所示。

图6 窗间墙遮阳构件平面示意

1—80 mm×60 mm×5 mm镀锌钢管;2—100 mm保温岩棉+防护层;3—12 mm增强纤维水泥板封口板(外侧氟碳喷涂);4—ST5.5 mm×2.5 mm不锈钢自攻自钻钉@300;5—3 mm折弯钢板@300。
图7 窗间墙遮阳构件节点示意
4 外墙保温装饰一体板的安装
北京怀柔医院二期扩建工程保温装饰一体板使用高度超过27 m,超过规范要求。因此需对保温装饰一体板的安装进行试验研究,提出其在ALC加气混凝土条板墙上的安装方法。外墙保温装饰一体板安装方法使用粘锚结合的施工工艺,以粘贴为主。根据规范要求对保温装饰一体板进行选材,并采取相应的施工措施,保证保温装饰一体板的顺利安装。
4.1 外墙保温装饰一体板的材料要求
按照JG/T 287—2013的要求,II型保温装饰一体板的拉伸粘结强度不小于0.15 MPa且破坏必须发生在保温材料内,整个保温装饰一体板外墙外保温系统的拉伸强度也按此要求执行。说明保温材料的拉伸强度决定了外保温系统的防脱落强度。
基于此,根据GB/T 20096—2013《模塑聚苯板薄抹灰外墙外保温系统材料》规定的试验方法进行试验,选用性能指标满足拉伸粘结强度的胶粘剂;选用不小于140 kg/m3的岩棉作为保温装饰一体板的保温材料;选用拉拔力标准值不小于0.60 kN、悬挂力不小于0.30 kN的锚固组件。
4.2 减少外界环境影响的施工要求
外墙保温装饰一体板的胶粘剂抗风荷载承载力应满足如下要求。
风荷载标准值不大于保温装饰一体板胶粘剂抗风荷载承载力标准值/K(保温装饰一体板工程抗风安全系数K值取值不小于11.7)。
因此,施工中要求保温装饰一体板安装不得在风力大于5级的天气施工。
保温装饰一体板安装不得在雨天施工,雨季施工时,在现场切割和安装的保温装饰一体板面板和底板切割面应做防水处理。
对当天安装完成的顶部保温装饰一体板的顶面,采取塑料膜包封等临时措施防止雨水进入;粘贴到外墙顶部不能及时收口时,可在顶部薄抹聚合物防水砂浆覆盖岩棉以防雨水侵入。
保温装饰一体板水平或倾斜的出挑部位以及延伸至地面以下的部位应做防水处理,门窗洞口与门窗交接处、首层与其他层交接处、外幕墙与屋顶交接处应按照防水构造进行密封处理,确保水不渗入保温装饰一体板的保温层和ALC加气混凝土条板墙基层。穿过外幕墙系统的安装设备、穿墙管线或支架应固定在基层墙体上,并做密封和防水构造处理。
外墙保温装饰一体板在ALC加气混凝土条板墙上安装时,采用点框法安装且在外框粘结砂浆处留设排气通道,每5 m2的外墙保温装饰一体板设置一个排气孔,以供保温装饰一体板内保温层和保温装饰一体板与ALC加气混凝土条板墙之间的水汽排出。
温度变形带来的最大问题是:外墙保温层内会产生随时存在且具有危害性的应力变化。它会随着季节性温差、早晚温差而不断变化,产生分布不均匀的作用力,使保温材料产生拉裂,并加剧保温材料的变形程度。
安装时要求保温装饰一体板进行分块安装,板块分割原则为省材、美观、安全,且单块装饰板面积不得大于1 m2,最大单边长度不超过1.5 m。块与块之间的缝隙填充柔性嵌缝材料,使保温装饰一体板在受温度变化的影响下自有膨胀和收缩。
4.3 保温装饰一体板的安装措施
保温装饰一体板与ALC加气混凝土条板墙的粘结面积应不小于60 %,锚固组件与基层墙体的连接强度锚栓抗拉承载力标准值应不小于0.6 kN,锚固组件应固定于保温装饰一体板的面板上,不得固定在保温材料上。
每平方米II型保温装饰一体板的锚固组件数量不应少于8个,且保证每边锚固点数量不少于2个,每个锚固点用2个锚栓固定。
锚固组件的锚栓锚入ALC加气混凝土条板墙上时,采用5.8级M8螺杆锚栓并使用配套植筋胶加固,有效锚固深度不小于80 mm;锚入钢筋混凝土结构时,采用5.8级M8扩底型机械锚栓,有效深度不小于60 mm。
4.4 锚固组件与墙体基层、保温装饰一体板连接的试验研究
在保温装饰一体板外墙外保温系统大面积施工前,按照设计和相关规范规定的构造做法及工艺,在施工现场用设计要求的保温装饰一体板、粘结砂浆和锚固组件,在ALC加气混凝土条板墙上制作模拟件,试验粘结砂浆与ALC加气混凝土条板墙的粘结强度、锚固组件的锚栓在ALC加气混凝土条板墙上的抗拉拔力。
现场试验如图8、图9所示。

图8 保温装饰一体板现场试验

图9 胶粘剂与ALC基层墙体抗拉拔力检测
通过模拟试验,用于保温装饰一体板的胶粘剂与ALC加气混凝土条板墙的胶粘力满足不小于0.15 MPa的要求。
然而,锚固组件的锚栓在ALC加气混凝土条板墙上的抗拉拔力标准值仅能达到5 kN,不能满足规范要求的抗拉拔力标准值不小于0.60 kN的要求,故锚固组件的锚栓在ALC加气混凝土条板墙墙体上锚固时,需要采取加强措施。
ALC加气混凝土条板墙墙体材料是一种由大量均匀的、互不连通的微小气孔组成的多孔材料。鉴于此,通过在锚杆孔内注入加固植筋胶,使植筋胶通过锚栓孔与ALC加气混凝土条板墙渗透结合成一个扩大的锥形体,增强锚栓锚杆的抗拉拔力。
现场设置5组模拟件试验,锚栓孔内注入了植筋胶再安装的锚栓锚杆的抗拉拔力最低可达到0.84 kN,破坏形式为整体拔出,达到了规范所要求的II型保温装饰一体板抗拉拔力标准值不小于0.60 kN的要求。
5 结束语
在装配式钢结构增设墙架,优化了ALC加气混凝土条板墙的荷载传递路径,减少了ALC加气混凝土条板墙荷载对装配式钢结构构件的变形影响,增设的外墙架兼做外幕墙的受力体系,保障了ALC加气混凝土条板墙及外幕墙系统的安全与质量。
确定了II型保温装饰一体板在装配式钢结构建筑上使用高度为48.1 m时的施工技术:使用粘锚结合的施工技术,ALC加气混凝土条板墙的粘结面积不小于60 %,在每个锚栓孔内注入专用配套植筋胶,每个锚固点用2个锚栓固定,试验验证了ALC加气混凝土条板墙体基层上的抗拉拔力达到≥0.60 kN的要求。
通过研究,提高了外维护结构施工技术的科技含量和劳动生产效率,保证了ALC加气混凝土条板墙及外保温装饰一体板的功能要求、施工质量和结构安全,为项目创造了良好的综合效益,为类似工程提供了参考。
摘自《建筑技术》2023年8月,李沙沙, 刘 斌, 刘海涛, 张巧茹, 高丽云, 张金梁