行业动态
组合式支架在大跨度预应力混凝土连续梁施工中的应用
来源:admin 浏览量: 发布时间:2026-04-02 10:57:45
1 组合式支架设计
1.1 支架平台形式设计
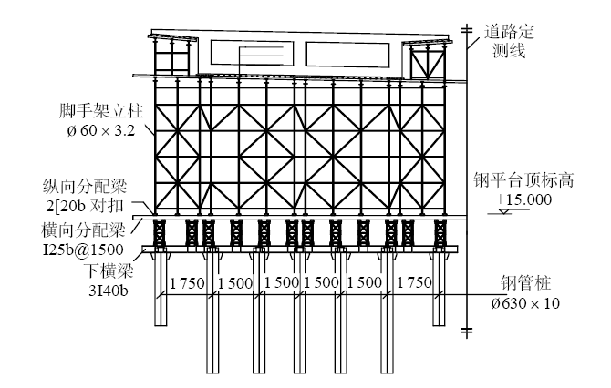
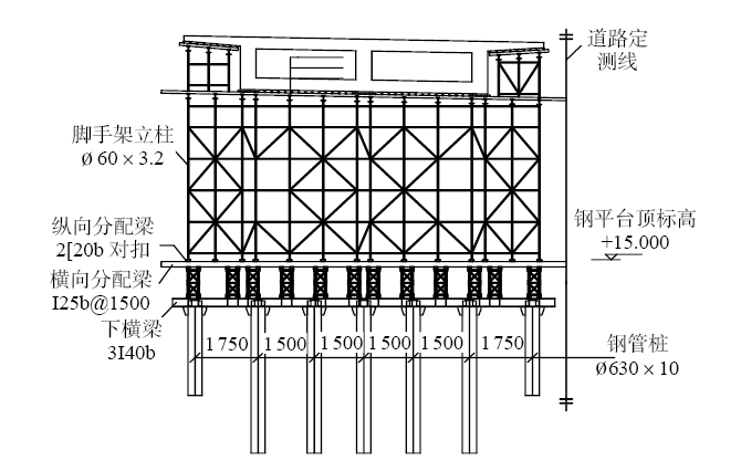
为确保结构的稳定性与整体性,在桩间设置了钢管作为横向和纵向的桥梁连接部件。在钢管桩的顶部,安装了主横梁型钢,以增强其承载能力。此外,还选用了321型贝雷架作为纵梁,进一步提升了桥梁的支撑强度。在纵梁之上,配置了工字钢横向分配梁以及对扣槽钢作为纵向分配梁,以确保施工过程中的均匀受力。特别是在履带式起重机行走区域,采用满铺的纵向分配梁,以确保施工设备的安全运行。
1.2 支架结构参数设计
上部结构采用盘扣式模板支撑架,选用 60 mm×3.2 mm的钢管作为主要构件。在支撑架的布置上,立杆纵向间距设定为0.6 m、0.9 m和1.2 m,横向间距设定为0.6 m、0.9 m、1.2 m和1.5 m。步距以1.5 m为主,同时兼顾0.5 m和1.0 m。立杆伸出顶层水平杆中心线至支撑点的长度被严格控制,确保不大于0.4 m。为增强结构的稳定性和承载能力,上部结构还设置了工字钢分配梁,分配梁上再铺设方钢和模板系统,以满足施工过程中的各项要求(图1~图4)。

图1 现浇箱梁支架立面布置示意

图2 现浇箱梁支架平面布置示意

图3 钢管桩平面布置示意

图4 横断面布置示意
2 施工方法
2.1 施工工艺流程
施工工艺流程:支架平台形式设计(支架结构参数设计)→钢管桩平面位置放样→钢管桩施打设→焊接剪刀撑及平联→桩顶分配梁安装→贝雷梁拼装→钢管桩平面位置放样→支架搭设→支架检查验收→测高程、铺设底模→支架预压及调整。
2.2 施工方法
2.2.1 钢管桩平面位置放样
经过审慎研究设计图,确定钢管桩的精确位置,并已在相应位置做出明确标记。严格按照确定的桩位,运用振动锤进行钢管桩的施打工作。
2.2.2 钢管桩打设
施工过程要严格按照设计要求的数量、布置形式及入土深度进行钢管桩的打设。为提升DZ90型液压振动锤的工作效能,在其桩头上焊接一块厚度为2 cm的钢板夹板。夹板固定完毕后,利用起重机逐步升高振动锤,平稳提起钢管桩。当钢管桩完全脱离地面后,使用专业绳索对桩脚进行稳固牵引,确保其能够精确放置到预设的桩位中。随后对桩身进行细致调整,确保其在水平和垂直方向均保持垂直。
在确保对准桩位后,缓慢将钢管桩落下。在桩身插入过程中,检查钢管桩倾斜度和平面位置,确保其满足施工要求。当钢管桩达到原地面标记处,将对激振力进行复核。只有当激振力与入土深度均达到设计值时,方可停止插打。在整个插打过程中,必须严格控制钢管桩的竖直度和平面位置,确保位置偏差在顺桥向不超过40 mm,垂直桥轴方向不超过50 mm,且倾斜度应控制在1 %以内。
建议在承台上固定一块厚度为2 cm的钢板法兰,并采用8根直径为25 mm的锚筋进行稳固。在钢管桩的施工过程中,需沿其柱脚四周焊接共计16块加劲板,以确保钢板桩底的承载能力及其平面位置的稳定性。
同排钢管桩插打完成后,在每根钢管桩之间设置剪刀撑。为增强结构的整体稳定性,防止不均匀沉降,在每排钢管桩的上口统一带线焊接钢管形成平联。平联与钢管之间的连接使用钢板,并通过角焊的方式焊接,焊角高度为6 mm。所有各部件连接部位必须采用满焊工艺且确保精确的割口处理。通过这些措施的实施,有效地将钢管桩通过剪刀撑和平联连接为稳固整体,从而保证结构的纵向和横向稳定性。
2.2.4 桩顶分配梁安装
桩顶型钢分配梁的型号与数量必须严格遵循设计要求。在钢管桩的竖向中心线上,根据型钢宽度进行安装工作,并准确安放在割口位置。为确保型钢分配梁的稳定性,在割口两侧使用连接板固定防止移动。
2.2.5 贝雷梁拼装
为确保施工安全与效率,贝雷梁已在施工场地按照既定设计方案预先完成组装。采用2台25 t汽车式起重机并排操作,以保证贝雷梁的稳定起吊。贝雷梁必须严格遵循设计方案中指定位置进行布设,并配备限位器以确保其安全稳固。此外,2排贝雷梁通过花架横向连接,形成整体结构,提升整体稳定性。
2.2.6 主梁顶分配梁安装
在主梁(贝雷梁)的顶部,采用工字钢作为横向分配梁,其间距设置为1 500 mm和750 mm。同时,使用了对扣槽钢作为纵向分配梁,以确保结构的稳定性和均匀分布荷载。在履带式起重机行走的区域,纵向分配梁被全面铺设,以提供足够的支撑和稳定性。为了固定工字钢分配梁与主梁之间的连接,采用U形卡进行紧固,以确保结构的整体性和安全性。
2.2.7 支架搭设
盘扣支架立柱纵向间距设为1 200 mm、900 mm及600 mm。为保障施工的安全性与精确度,必须在搭建支架前对其位置进行周密的放样。在此过程中,测量人员必须运用全站仪在地基上准确描绘出箱梁支架外边线的竖向投影线,以标定箱梁的横隔梁位置,确保整个施工过程顺利进行。
为确保位置的清晰可辨,在相应位置撒上白灰作为标志线(或使用墨线进行弹出)。根据施工方案所规定的横向间距和纵向间距在已弹出的墨线上进行定位,确保盘扣支架的搭建符合设计要求。
(1)安装底托、立杆及横杆。在支架施工过程中,首先确保依据支架高度进行的设计组合精确无误。按照施工步骤安装底托,即第一层立杆和横杆的安装。为保证支架整体结构的稳定性,特别强调每一段支架的第一层横杆必须安装在同一水平面上,以确保受力均匀。
此外,根据立杆位置的具体要求,需在指定地点安置立杆,同时必须保证立杆底部直接与硬质地面紧密接触,严禁出现悬空情形,以保障支架的稳固性和安全性。随后,遵循立杆与横杆的设计组合,自底部起始,逐步向上安装立杆和横杆。
待立杆和横杆的安装工作全部完成后,安装剪刀撑以提升支架的整体稳定性。在剪刀撑安装时,必须确保其通过扣件与盘扣支架实现稳固的连接,以确保结构的安全性和稳定性。
为了达到最佳的连接效果,建议将剪刀撑设置在框架的结点位置,以提高整体结构的承载能力和抗震性能。安装盘扣立杆时需确保上部立杆的端头套入下部立杆中。在搭建盘扣支架时,必须保证纵、横方向均成直线,确保横平竖直。纵横向的杆件应通过内插方式紧密连接,确保不移动,从而形成一个稳固的纵、横、竖三维网架结构。
(2)顶托安装。为提升高支架上作业的安全性和效率,建议在作业前在地面精确调整顶托伸出长度,随后将其稳妥运送至支架顶部进行安装。在作业过程中,为顺利推进,需根据梁底高程的实际变动情况,科学合理地设定横桥向控制断面的间距。同时,在顺桥向布局上,需精心选定左、中、右共3个关键控制点,以便对顶托标高进行精准调控,并确保整个作业过程的高效与安全。
在调整过程中,必须使用明确标记来指示顶托的伸出量,以便后续精确校验。最后,需采用拉线内插的方式对每一个顶托的标高进行逐一调整。在此过程中,顶托的伸出量应控制在15 cm以内,以确保其稳定性和安全性。
(3)纵横向分配梁安装。标高调整后,在支架的U形顶托之上铺设横向工字钢分配梁,横梁的长度应根据桥梁的实际宽度确定。
横梁之上应铺设纵向方钢,其间隔距离可设置为12.5 cm和30 cm。在此过程中,需特别关注横向工字钢与纵向方钢之间的接头位置,确保它们相互错开,保证结构的稳定性和安全性。
2.2.8 支架验收
支架搭设时,现场质检员须承担对连接扣件至少50 %的抽查比,并对其杆件的连接长度和垂直度等参数严格把关。当支架搭设工作完成后,应由监理工程师共同参与检测验收,并出具验收意见。根据验收意见,相关责任人需及时完成整改工作,并进行复查。在确认合格后,方可进行下一步作业。
2.2.9 测高程、铺设底模
支架顶部装配了可调顶托装置,其高程调节范围精确控制在0~20 cm。这一设计旨在确保支架顶部高程的精确控制,保障整个架体安装的高精度要求。支架的预拱度设置严格依据预压结果与箱梁设计的预拱度要求确定。
在支架底部,采用厚度为15 mm的胶合板(竹胶板)作为底模,确保结构的坚固与耐用。为保证底模面板拼接的严密性,巧妙使用海绵条进行嵌固处理。同时,底模面板与次楞之间通过铁钉进行稳固连接,连接位置精心设计在面板的四周,在保障连接紧固的同时,亦增强了整体架构的稳固性。
2.2.10 支架预压及调整
在支架搭设工作圆满完成及箱梁底模铺设任务顺利结束后,为确保支架及其地基的非弹性变形得到有效管控,同时获取支架的弹性变形数据,对支架实施了超载预压处理,以提高施工过程的科学性和精准性,确保施工质量和安全。
3 效益分析
大跨径组合式现浇支架工艺相较于悬浇法,其显著优势在于工期的高效节约,这恰好符合当前公路建设市场对高效施工的需求。以悬臂浇筑法为例,整个施工过程需分为16个块段(含合龙段),其总工期大约需要206 d。而采用组合式现浇支架法时,施工过程仅分为6段,通过4次浇筑即可完成,总工期大约只需108 d。由此可见,在工期控制方面,组合式现浇支架工艺具有显著优势。
整体而言,该方案的安全系数较高,其实用性与可行性得到了充分保障。在施工过程中,采用组合式现浇支架法,整个项目仅耗时3个月,相较于传统悬浇法,工期缩短98 d,同时,也节约106万元的管理费用。效益分析数据见表1、表2。
表1 挂篮悬浇施工工效分析

表2 组合式现浇支架施工工效分析

4 结束语
本研究以潮白河高架桥主桥为例,提出一种组合式支架体系,并全面阐述了其构造及实施步骤。在实际应用中,该组合式支架在首环高速五分部潮白河高架桥主桥施工中展现出了卓越的性能。其设计简洁实用,安全可靠,有效缩短施工周期,还提升经济效益。
摘自《建筑技术》2025年3月,许营, 梁锐