行业动态
建筑技术丨大跨度悬挑混凝土结构高空支模平台施工技术
来源:admin 浏览量: 发布时间:2024-11-21 15:39:58
大跨度外悬挑混凝土结构本身梁截面较大、自重较重、支撑体系及模板施工难度较大;且悬挑位置位于近百米高空,存在较大安全风险,常规的支模、防护外架等施工工艺无法实施。基于此工况,采用悬挑(或简支)型钢搭设钢平台作为大跨度悬挑结构支模平台,同时钢平台作为外侧爬架找平架的支撑平台,可以起到临边防护的作用,降低安全隐患。
1 工程概况
广州市某工程项目总建筑面积约为48万m²,建筑最大高度172.55 m,由6栋超高层住宅塔楼及1栋超高办公楼组成。项目采用铝模+爬架施工体系,避难层局部外挑结构,最大悬挑长度4.2 m,悬挑梁截面尺寸200 mm×500 mm、300 mm×650 mm、800 mm×650 mm、400 mm×1 200 mm等;在施工至避难层时,搭设空中工字钢平台,然后进行支撑架搭设完成上部结构施工,同时此平台作为爬架空中二次安装的操作平台。
2 高空支模平台设计
2.1 悬挑型钢平台设计
1~2号楼住宅共48层,层高2.9 m,在16层以上南侧结构边线部分向外突出2.6 m,为方便上部结构施工,采用爬架进行防护,因此需在16层结构下方搭设悬挑型钢平台进行支模及爬架找平架搭设。
(1)悬挑平台最小外挑长度为4 m(2.6 m结构外挑距离+0.3 m操作空间+0.9 m爬架找平架位置+0.2 m立杆安全距离)。
(2)平台设计时考虑减小支模高度、降低上拉杆件对支模体系立杆的影响,平台主梁设计为下撑方式进行卸载。
(3)住宅项目一般梁板设计截面较小,为降低悬挑平台对原结构的影响并减少结构加固措施,采用工字钢主梁插入锚固在结构柱或剪力墙内。
(4)为减少平台次梁的投入,减少支撑立杆,支模体系采用盘扣架双槽钢托梁体系。爬架找平架内侧支撑立杆与边梁外侧立杆共用。
(5)下撑位置采用预埋短钢托座形式进行连接,钢托座外露长度300 mm,不超过下部爬架走道板,不影响下部爬架爬升。
2.2 简支搁置型钢平台设计
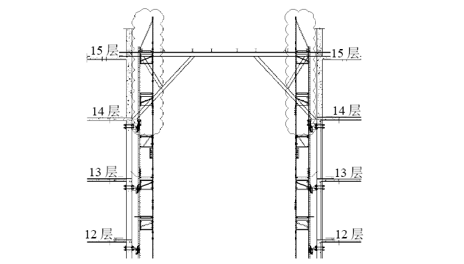
3~4号、5~6号楼15层以下均为单体独栋楼,15层以上单体楼分别向内3.2 m悬挑,中部预留0.4 m变形缝变为连体楼,主楼中部镂空效果如图1所示。

图1 主楼中部镂空效果
平台设计采用下撑式搁置工字钢体系,工字钢通过方通斜撑支撑于下层结构。钢平台14层进行搭设,钢平台单侧搭设面积约86 m²,采用I22a工字钢作为主梁、I16号工字钢作为联梁支撑架基础,□100×6作为下部斜撑;主梁布置最大间距为1 800 mm,其余不大于1 200 mm,次梁布置间距为1 200 mm,主梁采用搁置形式并利用山墙预留洞口固定加固,且用木方进行填塞。
(2)因中部镂空位置两侧均为剪力墙,为方便主梁整榀下吊,下撑位置也采用在13层楼板下方预埋短钢托座方式进行支撑。
(3)为保证双槽钢托梁支模体系稳定,平台外悬挑部分暂不进行爬架拼装,支撑架往上搭设多一步架子,保证架体高于15层作业面1.5 m以上,并挂设密目网作为浇筑混凝土的临边防护。
(5)因存在上部联梁悬挑,15层混凝土浇筑完成后,悬挑工字钢联梁用钢筋绳进行上拉作为安全绳(不参与受力计算),上拉节点混凝土强度需达到设计强度的85 %。且保证内部支模架体不进行拆除。
(6)混凝土浇筑时,必须两侧混凝土楼板同步浇筑,不得分开浇筑、避免偏载。
3 高空支模平台施工
3.1 悬挑型钢平台施工流程
(1)当塔楼主体施工到14层时(提前预埋工字钢锚环),利用爬架作为操作平台,利用塔式起重机配合进行工字钢吊装。
(2)搭设悬挑工字钢平台(图2)。

图2 悬挑型钢平台现场
(3)平台上部搭设满堂支模架和操作架。
(4)上部主体结构施工。
(5)在操作架上方安装爬架,继续上部主体结构施工。
(6)待上3层主体结构达到设计强度100 %时,拆除除支撑架体。
(7)利用塔式起重机(或室内卷扬机)配合拆除悬挑工字钢平台,利用牵引绳,缓慢将工字钢传递至室内,通过外用电梯运出。
(8)后期利用吊篮对外墙洞口进行封堵、修补。
3.2 简支搁置型钢平台施工流程
(1)当两侧塔楼施工到14层时,利用外爬架作为操作平台,在地面组装焊接钢梁平台,利用对应塔式起重机作为吊装设备对钢梁进行整体吊装。
(2)在钢梁上搭设操作平台(图3)。

图3 简支搁置型钢平台现场
(3)平台上部搭设满堂支模架和操作架。
(4)上部主体结构施工。
(5)在操作架上方安装爬架,继续上部主体结构施工
(6)待上3层主体结构达到设计强度100 %时,拆除除支撑架体。
(7)利用15层楼板预埋的吊装孔,室内增加设置的卷扬机,配合拆除钢平台(需要提前预埋吊环),直接下放至地面(或屋面主体结构上)。利用吊篮配合割断操作平台支撑钢梁及预埋钢托座。
(8)后期吊顶、顶棚装修施工完成后,拆除平台,利用斜拉钢丝绳,缓慢将H型钢抽出。
3.3 平台监测
在平台浇筑混凝土之前按照布设好的监测点位进行监测,浇筑混凝土期间,每天不少于3次监测,混凝土浇筑之后的每天不少于2次监测,7 d之后自拆模完成每天不少1次监测。工字钢支架水平位移及沉降监测点采用反射片粘贴在工字钢支架外侧、中部或角点的位置(图4)。

图4 平台水平位移及沉降监测点
3.4 平台施工注意事项
(1)在楼层内搭设钢平台时,考虑外挑型钢与爬架支座的位置相对关系,确保爬架分片断开的位置,走道板的悬挑长度不大于2 m(满足规范要求)。
(2)可以利用钢平台下放的爬架作为操作架,进行钢平台安装;在钢平台上搭设盘扣式钢管抄平架,在抄平架上单独新增支座搭设爬架,随上部主体结构进度进行二次安装,爬架高度4层半。
(3)平台两侧的爬架随主体结构进度独立提升,待与钢平台上二次安装的爬架高度持平时,再将两片架体连接成整体,后续同步提升。
(4)待爬架整体提升后,再拆除底部盘扣式钢管抄平架及内部支模架体,再拆除下部钢平台。
(5)拆除时,爬架均已拆除完毕,提前在钢平台上焊接吊耳,首先在主梁距离墙边300 mm位置两边同时进行切割,多余钢梁抽回室内运至顶板,剩余钢平台则采用卷扬机输送至顶板面。
(6)卷扬机及吊篮安放在上方楼板位置(为方便错开位置,可将卷扬机放置在上两层楼板上),钢梁下放时人员应从吊篮内撤离。
(7)吊篮作为后期墙面留洞的封堵操作平台,施工完成后,由于结构楼板为涂料做法,涂料先进行大面积施工,剩余预留洞口部位,最后封堵楼板预留洞口,洞口采用高一强度等级的微膨胀混凝土进行封堵,封堵完成后采用滚筒涂抹预留洞口部位。
3.5 平台下方爬架拆除
在钢平台主梁安装时,拆除部分走道板及防护网避开钢托座,如图5、图6所示,需要拆除云线范围内的走道板及防护网。

图5 悬挑型钢平台爬架拆除示意

图6 简支搁置型钢平台爬架拆除示意
当悬挑平台的主梁安装完毕后,通过塔式起重机拆除由于15层结构外突影响架体提升的部分。拆除前,做拆除技术交底。将相应的拆除顺序,拆除步骤重点交底清楚。架体通过塔式起重机拆除吊至指定位置后,散拆架体,分类堆放,留二次安装使用。悬挑平台次梁安装完毕后,在悬挑平台上安装爬架架体二次安装用的找平架,找平架高度需比室内板面标高高出0.7 m,没有防护的建筑结构,随楼层逐层施工,爬架架体逐层安装至完整。
待原来没有拆除的架体提升至底部防护16层,二次组装的架体首次提升后,底部防护16层,将二次组装架体与原本架体连接,连接后,3号、4号分别形成2片架体,按照常规流程每次提升架体。
4 结束语
大跨度悬挑混凝土结构高空支模平台施工技术通过项目实际施工证明技术可行,安全可靠,大幅减少支撑架体的投入,降低了高空作业的风险,保证施工质量和安全,为类似工程起到借鉴作用。
摘自《建筑技术》2023年9月,姜 垚, 朱效民, 韩永明, 桂智乐