行业动态
复杂建筑外立面爬架深化设计及施工技术的应用
来源:admin 浏览量: 发布时间:2024-11-21 15:33:56
1 工程概况
广州市某项目为地铁上盖商住综合体项目,其中包括6栋高层住宅楼及1栋高层办公楼,可建设用地面积为58 027 m²,建筑面积48万m²,1号、2号住宅楼共48层,建筑高度149.1 m,3号、4号住宅楼共44层,建筑高度138.5 m,5号、6号住宅楼共40层,建筑高度127.05 m,8号办公楼共33层,建筑高度168.5 m,均在标准层以上使用爬架。
其中,3~6号楼均在15层进行连体合并,其他高层楼栋在避难层存在结构外扩及结构内缩等边缘变化,使得爬架在变化部位必须进行二次装拆。其次,由于住宅楼存在复杂立面结构,包括采光井部位、阳台及室外施工电梯部位等特殊部位,使得爬架在深化设计及施工过程中的操作难度较大。
2 重难点分析
(1)1~6号住宅楼外立面避难层存在结构变化,15层以上为连体结构,其中部分结构楼层存在结构外挑及结构内缩形式,优化结构变化部位爬架的使用,减少技术间隙时间及成本是应用的难点。
(2)1~6号住宅楼建筑外立面较复杂,采光井空间有限,阳台位置有效附着距离过长。如何优化爬架特殊节点位置附墙支座数量和支座形式,减少投入成本,提高回收率也是本工程爬架深化设计重点。
(3)8号办公楼15号、25号避难层存在较大区域的结构架空,层高达到8.15 m,爬架在此两层架空区域存在无结构附着等情况,增加相应固定措施也是本工程爬架深化的一重难点。
(4)根据进度计划,工期相对较紧,为实现各工序穿插及高处作业防护安全,对爬架过程中高标准和规范化的管理是爬架应用的重点。
3 爬架深化设计与施工具体措施
3.1 细部节点深化与施工
(1)由于结构特殊性,在爬架与施工升降机使用、提升过程中,为保证施工升降机与爬架装配施工,提高安全稳定性,爬架开2层洞口,施工升降机仅能进到N–3层(爬架底部结构一层),洞口上方架体,在第四步走道板内外安装桁架,加强加固洞口,洞口两边采用防护网封堵防护(图1)。

图1 施工电梯与爬架的位置关系
(2)塔式起重机附墙与爬架深化设计,为了保证塔式起重机附墙位置和爬架的穿插,减少高处坠落的风险。在深化设计过程中,对塔式起重机附墙位置应使用翻转形式的走道踏板,将此走道踏板设置在架体每层的附墙位置,当爬架爬升时,打开下一层与塔式起重机附墙冲突的防护网片且固定,下一层的走道板拆除。
在爬升时,爬架即可顺利通过该位置塔式起重机附墙的走道板及防护网片,爬升完成后,将走道板、防护网缺口重新安装,防护外网关闭,形成防护。
架体横向稳固杆设置在N、N+1层遇到塔式起重机附墙位置打开。爬升后,立即将所有翻转的走道踏板与横向稳固杆恢复到位。爬升时与塔式起重机附墙冲突的防护网片,应朝外翻转避开冲突位置,待爬架爬升完成时,将此位置立即翻转恢复,在第六步走道板上侧安装桁架加强加固(图2)。

图2 塔式起重机附墙位置翻转踏板
(3)结合工程结构特点,高层住宅楼有全剪外墙、采光井、门窗、阳台等细部节点,为了满足附墙要求及安全性,共深化出3种附墙形式,包括直接附着剪力墙(梁)、采用刚性加高座附墙、采用槽钢加高座+斜顶杆附墙3种。直接附着剪力墙(梁):附墙支座直接与剪力墙(梁)贴合,通过两根附墙螺栓上紧,直接附着剪力墙(梁)示意如图3所示。

图3 直接附着剪力墙(梁)示意
采用刚性加高座附墙:当遇到机位位置有飘板,附墙支座无法直接附着于建筑结构,需在附墙支座与建筑结构之间增加刚性加高座。刚性加高座与建筑结构采用两根附墙螺栓上紧,而附墙支座与刚性加高座采用两根附墙螺栓上紧(图4)。

图4 刚性加高座附墙示意
阳台特殊节点部位采用槽钢加高座+斜顶杆附墙(图5)。

图5 槽钢加高座+斜顶杆附墙示意
高层住宅楼阳台位置及周围部分有效附墙较长,若采用普通附墙支座不能满足受力要求以及安全性,为了保证使用功能性,采用强度高、刚度好的钢架,由型钢焊接而成,分为常规标准附墙支座和特殊加长附墙支座,使用2个M30螺栓通过建筑预留孔固定在建筑上。同时根据建筑结构受力情况分析,爬架附墙支座处结构,需主体结构设计单位进行复核加强,满足附墙处结构受力要求,保证结构安全性及使用性。
3.2 结构变化部位爬架深化与施工
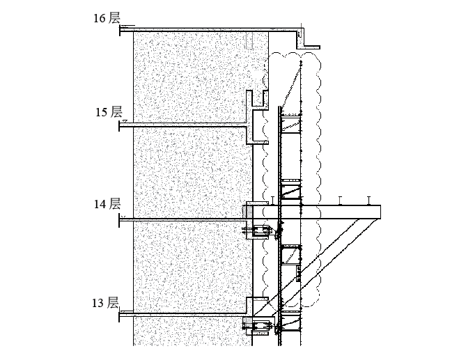
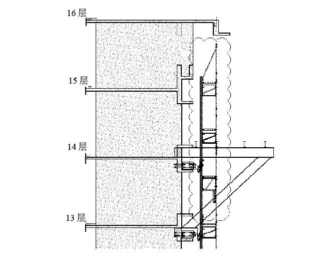
(1)本工程3~6号住宅塔楼建筑结构于15层两个单体楼变化连体楼形式,建筑外立面框线位置,如图6所示。

图6 建筑外立面示意
15层结构变化位置使用悬挑工字钢或简支梁平台作为支模架基础,完成高空支模要求。爬架在3~14层,使用两套独立的爬架,当爬架提升到14层时,需要拆除悬挑结构与连体结构支模平台影响提升的部分架体(图7)。

图7 爬架与支模平台冲突拆除工况
拆除范围共4处,通过塔式起重机将架体吊放在指定区域地面上,然后拆散架体,将架体材料分类堆放,设置隔离线做防护,并明确位置设置告知牌,待进行二次组装。上述位置拆除架体后,爬架邻边防护及时恢复完善,建筑结构的窗洞及时做临边防护,设置明显的安全警示标志,进一步加强现场施工人员的安全意识,如图8所示。

图8 架体部分拆除后的防护
在悬挑平台搭设验收合格后,爬架将利用搭设的悬挑平台作为外架(防护架)兼作抄平架进行二次组装架体,随建筑结构浇筑进度逐层安装,直至架体全部安装完毕,继而与原有架体整体提升防护建筑结构,且爬升防护至屋面层。
(2)1~2号住宅塔楼由于结构47层存在外突,而48层内缩。以内缩点作为分界线,将爬架架体分为若干段。若48层没有收缩且能附着机位的位置,将继续采用爬架防护,按照防护示意,架体比建筑结构高出不低于1.5 m,符合相关的规范要求;在结构收缩位置,爬架继续防护47层,并采取相应的临时拉结措施来加强结构稳定性(图9)。

图9 47层爬架防护剖面示意
(3)8号高层办公楼结构15层为避难层,结构西南面及东北面大区域出现结构架空;结构25层为避难层,结构西北面及东南面大区域出现结构架空,此处机位在架空区域无结构附着,故此机位处设置特制立柱辅助爬架顺利提升,独立钢立柱为6 m,使用L125×125×14角钢做主龙骨、L60×60×6角钢@600 mm做缀板和20 mm钢板做埋件板,钢立柱采用全焊接形式,焊缝高度为6 mm。钢立柱斜拉杆采用102×10 mm钢拉杆进行拉设,拉设至结构梁上,水平拉杆采用8号槽钢和10 mm钢板焊接,如图10所示。

图10 钢立柱示意
特制钢立柱锚固在结构边梁上,钢立柱两边分别与结构和架体进行斜拉加固。钢立柱与水平附墙结合使用,竖向最大压力为28.87 kN,斜拉杆最大拉力65.86 kN,主要在避难层使用。
4 结束语
复杂外立面的高层建筑爬架前期方案深化工作尤为重要,且应用较为复杂,其涉及施工环节也较多。通过对施工升降机、塔式起重机附着、支座优化、结构变化等部位爬架深化,大幅降低了应用过程中的技术间歇时间,保证了实际施工的操作安全,提高了爬架应用过程的整体效率。
摘自《建筑技术》2023年9月,苏伟豪, 朱效民, 桂智乐, 韩永明